LEMON Manuals: Even more car manuals for everyone: 1960-2025
Home >> Toyota >> 2013 >> FJ Cruiser RWD >> Repair and Diagnosis >> Engine Performance >> Engine Control Systems >> Engine Control System (Service Information) >> Camshaft Oil Control Valve >> Installation >> Installation
April 5, 2026: LEMON Manuals is launched! Read the announcement.

Camshaft Oil Control Valve: Installation: Installation

  1. INSTALL CAMSHAFT TIMING OIL CONTROL VALVE ASSEMBLY (for Exhaust Side of Bank 2) 
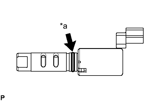
    1. Apply a light coat of engine oil to a new O-ring and install it to the oil control valve.
      Fig 1: Identifying Camshaft Timing Oil Control Valve Assembly & O - Ring
      GTY177234Courtesy of © TOYOTA, LICENSE AGREEMENT TMS1002
      TEXT IN ILLUSTRATION

      *a New O-Ring
    2. Install the oil control valve with the bolt.

      Torque: 10 N*m (102 kgf*cm, 7 ft.*lbf) 

      NOTE:
      • Do not allow foreign matter to contact the oil seal face of the oil control valve (connecting surface with cylinder head).
      • Be careful that the O-ring is not cracked when installing the oil control valve.
    3. Connect the camshaft timing oil control valve connector.
  2. INSTALL CAMSHAFT TIMING OIL CONTROL VALVE ASSEMBLY (for Exhaust Side of Bank 1) 
    1. Apply a light coat of engine oil to a new O-ring and install it to the oil control valve.
    2. Install the oil control valve with the bolt.

      Torque: 10 N*m (102 kgf*cm, 7 ft.*lbf) 

      NOTE:
      • Do not allow foreign matter to contact the oil seal face of the oil control valve (connecting surface with cylinder head).
      • Be careful that the O-ring is not cracked when installing the oil control valve.
    3. Connect the oil control valve connector.
  3. INSTALL CAMSHAFT TIMING OIL CONTROL VALVE ASSEMBLY (for Intake Side of Bank 2) 
    1. Apply a light coat of engine oil to a new O-ring and install it to the oil control valve.
    2. Install the oil control valve with the bolt.

      Torque: 10 N*m (102 kgf*cm, 7 ft.*lbf) 

      NOTE:
      • Do not allow foreign matter to contact the oil seal face of the oil control valve (connecting surface with cylinder head).
      • Be careful that the O-ring is not cracked when installing the oil control valve.
    3. Connect the oil control valve connector.
  4. INSTALL CAMSHAFT TIMING OIL CONTROL VALVE ASSEMBLY (for Intake Side of Bank 1) 
    1. Apply a light coat of engine oil to a new O-ring and install it to the oil control valve.
    2. Install the oil control valve with the bolt.

      Torque: 10 N*m (102 kgf*cm, 7 ft.*lbf) 

      NOTE:
      • Do not allow foreign matter to contact the oil seal face of the oil control valve (connecting surface with cylinder head).
      • Be careful that the O-ring is not cracked when installing the oil control valve.
    3. Connect the oil control valve connector.
  5. INSTALL INTAKE AIR SURGE TANK 
    1. Install the intake air surge tank. Refer to INSTALLATION .
  6. ADD ENGINE COOLANT  . Refer to REPLACEMENT - Step 2
  7. INSPECT FOR COOLANT LEAK  . Refer to ON-VEHICLE INSPECTION - Step 1