Components [08/2020 -]
WARNING: This page is about a different car, the 2021 Toyota Avalon. However, it is still accessible from the selected car via links, so may be relevant.


Courtesy of © TOYOTA, LICENSE AGREEMENT TMS1002
| Callout |
Description |
Callout |
Description |
| *1 |
PROPELLER SHAFT HEAT INSULATOR |
*2 |
NO. 1 PROPELLER SHAFT HEAT INSULATOR BRACKET SUB-ASSEMBLY |
| *3 |
REAR ENGINE MOUNTING BRACKET SUB-ASSEMBLY |
*4 |
TRANSFER ASSEMBLY |
 |
Tightening torque for "Major areas involving basic vehicle performance such as moving/turning/stopping": N*m (kgf*cm, ft.*lbf) |
 |
N*m (kgf*cm, ft.*lbf): Specified torque |
| * |
For use with SST and a union nut wrench |
- |
- |


Courtesy of © TOYOTA, LICENSE AGREEMENT TMS1002
| Callout |
Description |
Callout |
Description |
| *1 |
NO. 1 TRANSFER CASE COVER |
*2 |
NO. 1 TRANSFER CASE PLUG |
| *3 |
RING GEAR MOUNTING CASE BEARING LH |
*4 |
RING GEAR MOUNTING CASE BEARING RH |
| *5 |
SHAFT SNAP RING |
*6 |
TRANSFER CASE OIL SEAL RH |
| *7 |
TRANSFER RING GEAR |
*8 |
TRANSFER RING GEAR MOUNTING CASE |
| *9 |
GASKET |
*10 |
NO. 2 TRANSFER RING GEAR MOUNTING CASE WASHER |
| *11 |
NO. 1 RING GEAR MOUNTING CASE WASHER |
*12 |
TRANSFER CASE |
 |
Tightening torque for "Major areas involving basic vehicle performance such as moving/turning/stopping": N*m (kgf*cm, ft.*lbf) |
• |
Non-reusable part |
 |
MP grease |
- |
- |



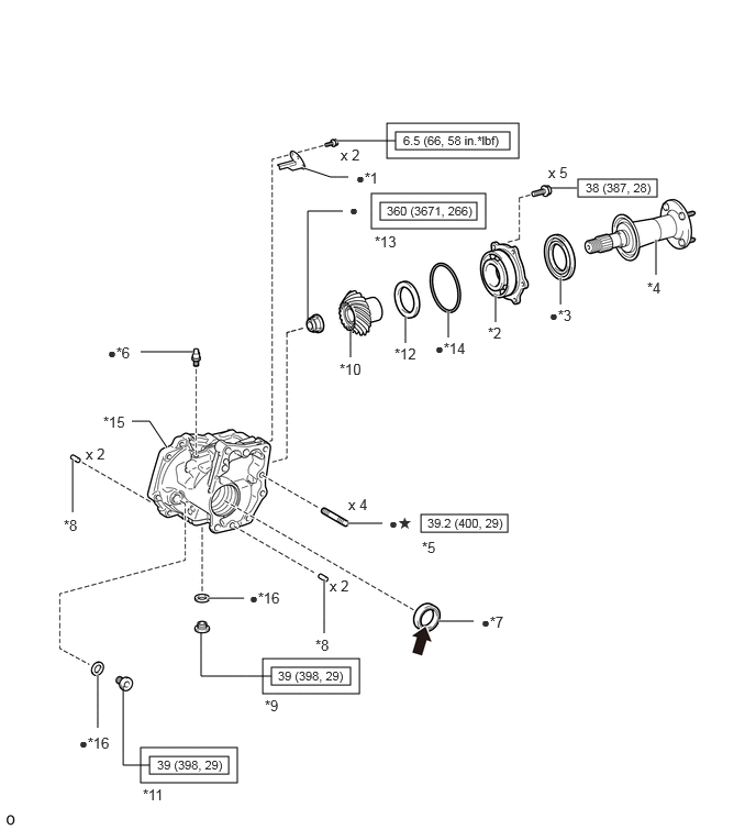
Courtesy of © TOYOTA, LICENSE AGREEMENT TMS1002
| Callout |
Description |
Callout |
Description |
| *1 |
BREATHER OIL DEFLECTOR |
*2 |
FRONT TRANSFER DRIVEN PINION BEARING |
| *3 |
REAR TRANSFER OUTPUT SHAFT DUST DEFLECTOR |
*4 |
REAR TRANSFER OUTPUT SHAFT SUB-ASSEMBLY |
| *5 |
TRANSFER AND TRANSAXLE SETTING STUD BOLT |
*6 |
TRANSFER CASE BREATHER PLUG |
| *7 |
TRANSFER CASE OIL SEAL |
*8 |
TRANSFER CASE STRAIGHT PIN |
| *9 |
TRANSFER DRAIN PLUG |
*10 |
TRANSFER DRIVEN PINION |
| *11 |
TRANSFER FILLER PLUG |
*12 |
TRANSFER OUTPUT SHAFT WASHER |
| *13 |
TRANSFER GEAR NUT |
*14 |
O-RING |
| *15 |
TRANSFER CASE |
*16 |
GASKET |
 |
Tightening torque for "Major areas involving basic vehicle performance such as moving/turning/stopping": N*m (kgf*cm, ft.*lbf) |
 |
N*m (kgf*cm, ft.*lbf): Specified torque |
| • |
Non-reusable part |
 |
MP grease |
| * |
Precoated part |
- |
- |