LEMON Manuals: Even more car manuals for everyone: 1960-2025
Home >> Toyota >> 2021 >> Prius LE AWD-e >> Repair and Diagnosis >> External Pages >> Different car >> Section 249 (Transfer Case (Service Information)) >> Transfer Assembly >> Disassembly [08/2020 -] >> Procedure
April 5, 2026: LEMON Manuals is launched! Read the announcement.

Disassembly [08/2020 -]: Procedure

WARNING: This page is about a different car, the 2021 Toyota Avalon. However, it is still accessible from the selected car via links, so may be relevant.
  1. REMOVE TRANSFER AND TRANSAXLE SETTING STUD BOLT 
    1. GTY875425Courtesy of © TOYOTA, LICENSE AGREEMENT TMS1002

      Using 2 nuts, remove the 4 transfer and transaxle setting stud bolts.

  2. SECURE TRANSFER ASSEMBLY 
    GTY934366Courtesy of © TOYOTA, LICENSE AGREEMENT TMS1002
    1. Secure the transfer assembly to the overhaul attachment.
  3. REMOVE TRANSFER CASE STRAIGHT PIN 
    GTY875424Courtesy of © TOYOTA, LICENSE AGREEMENT TMS1002
    1. Remove the 2 transfer case straight pins.
  4. REMOVE NO. 1 TRANSFER CASE PLUG 
    GTY875423Courtesy of © TOYOTA, LICENSE AGREEMENT TMS1002
    1. Remove the No. 1 transfer case plug and gasket.
  5. REMOVE TRANSFER DRAIN PLUG 
    GTY875428Courtesy of © TOYOTA, LICENSE AGREEMENT TMS1002
    1. Using a 10 mm socket hexagon wrench, remove the transfer drain plug and gasket.
  6. REMOVE TRANSFER FILLER PLUG 
    GTY875427Courtesy of © TOYOTA, LICENSE AGREEMENT TMS1002
    1. Using a 10 mm socket hexagon wrench, remove the transfer filler plug and gasket.
  7. REMOVE TRANSFER CASE BREATHER PLUG 
    GTY875426Courtesy of © TOYOTA, LICENSE AGREEMENT TMS1002
    1. Using a chisel and hammer, slightly pry out the transfer case breather plug.
    2. Using a screwdriver, lightly pry up and remove the transfer case breather plug.
  8. REMOVE TRANSFER CASE OIL SEAL 

    See step  4

  9. REMOVE TRANSFER CASE OIL SEAL RH 
    GTY841861Courtesy of © TOYOTA, LICENSE AGREEMENT TMS1002
    *1 Transfer Case Oil Seal RH
    1. Using SST, remove the transfer case oil seal RH from the No. 1 transfer case cover.
      • SST: 09308-00010 
      NOTE:

      Do not scratch the press-fitting surface of the transfer case oil seal RH.

  10. INSPECT TOTAL PRELOAD 
    GTY903631Courtesy of © TOYOTA, LICENSE AGREEMENT TMS1002
    *1 Double Nut
    *a Torque Wrench Fulcrum Length
    1. Install the double nut to the transfer output shaft stud bolt and set the torque wrench into place.

      HINT: 

      Adjust the double nut until the torque wrench is straight.

    2. Using a torque wrench, check the total preload (starting torque) with the teeth of the drive pinion and ring gear in contact.

      Total preload (starting torque) 

      Torque: 0.87 N*m (2.85 N*m (8.88 kgf*cm, 29.06 kgf*cm, 7.71 in.*lbf) 25.22 in.*lbf) 

      HINT: 

      • When using a torque wrench after changing its effective length, determine the reading of the torque wrench.
        FORMULA T'=T X L2/(L1+L2)

        T' Reading of torque wrench (N*m (kgf*cm, ft.*lbf))
        T Driven pinion preload (N*m (kgf*cm, ft.*lbf))
        L1 Distance from center of transfer output shaft to center of stud bolt (cm (in.))
        L2 Length of torque wrench (cm (in.))
        GTY883823Courtesy of © TOYOTA, LICENSE AGREEMENT TMS1002
      • Distance from center of transfer output shaft to center of stud bolt (effective length of 38.9 mm (1.531 in.)) when using a torque wrench (effective length of 160 mm (6.30 in.)): 0.70 to 2.29 N*m (8 to 23 kgf*cm, 7 to 20 in.*lbf)
  11. INSPECT RING GEAR BACKLASH 
    GTY366884Courtesy of © TOYOTA, LICENSE AGREEMENT TMS1002
    1. Insert a dial indicator through the No. 2 transfer case plug hole, and set it perpendicular to the edge of a ring gear tooth.

      If the backlash is not within the specified range, adjust the backlash or repair as necessary.

    2. While securing the transfer output shaft by hand, rotate the transfer ring gear mounting case forward and backward by hand and measure the backlash of the ring gear and driven pinion.

      Standard Backlash

      0.10 to 0.20 mm (0.00394 to 0.00787 in.)

      NOTE:

      Measure the ring gear at 3 or more locations.

  12. REMOVE NO. 1 TRANSFER CASE COVER 
    1. Remove the 8 bolts.
      GTY875379Courtesy of © TOYOTA, LICENSE AGREEMENT TMS1002
    2. Using a brass bar and hammer, remove the No. 1 transfer case cover from the transfer case.
      GTY875378Courtesy of © TOYOTA, LICENSE AGREEMENT TMS1002
      NOTE:
      • Put the brass bar against the rib of the No. 1 transfer case cover.
      • When removing the No. 1 transfer case cover, be careful not to scratch the installation surface.

      HINT: 

      To prevent the No. 1 transfer case cover from falling, leave 2 of the bolts screwed in by 5 or 6 threads.

  13. REMOVE TRANSFER RING GEAR 
    1. Remove the transfer ring gear from the transfer case.
      GTY875377Courtesy of © TOYOTA, LICENSE AGREEMENT TMS1002
  14. REMOVE TRANSFER CASE STRAIGHT PIN 
    1. Remove the 2 transfer case straight pins from the transfer case.
      GTY875375Courtesy of © TOYOTA, LICENSE AGREEMENT TMS1002
  15. INSPECT DRIVEN PINION PRELOAD 
    1. Install the double nut to the transfer output shaft stud bolt and set the torque wrench into place.
      GTY924112Courtesy of © TOYOTA, LICENSE AGREEMENT TMS1002
      *1 Double Nut
      *a Torque Wrench Fulcrum Length

      HINT: 

      Adjust the double nut until the torque wrench is straight.

    2. Using a torque wrench, check the total preload (starting torque) with the teeth of the drive pinion and ring gear in contact.

      Driven pinion preload (starting torque) 

      Torque: 0.39 N*m (2.21 N*m (3.98 kgf*cm, 22.53 kgf*cm, 3.46 in.*lbf) 19.55 in.*lbf) 

      HINT: 

      • When using a torque wrench after changing its effective length, determine the reading of the torque wrench.
        FORMULA T'=T X L2/(L1+L2)

        T' Reading of torque wrench (N*m (kgf*cm, ft.*lbf))
        T Driven pinion preload (N*m (kgf*cm, ft.*lbf))
        L1 Distance from center of transfer output shaft to center of stud bolt (cm (in.))
        L2 Length of torque wrench (cm (in.))
        GTY883823Courtesy of © TOYOTA, LICENSE AGREEMENT TMS1002
      • Distance from center of transfer output shaft to center of stud bolt (effective length of 38.9 mm (1.531 in.)) when using a torque wrench (effective length of 160 mm (6.30 in.)): 0.32 to 1.77 N*m (4 to 18 kgf*cm, 3 to 15 in.*lbf)
  16. REMOVE REAR TRANSFER OUTPUT SHAFT SUB-ASSEMBLY 
    1. Remove the 5 bolts and rear transfer output shaft sub-assembly from the transfer case.
      GTY875372Courtesy of © TOYOTA, LICENSE AGREEMENT TMS1002
    2. Mount the rear transfer output shaft sub-assembly in a vise between aluminum plates.
      NOTE:

      Do not overtighten the vise.

    3. GTY373597Courtesy of © TOYOTA, LICENSE AGREEMENT TMS1002

      Using SST and a hammer, unstake the transfer gear nut.

      • SST: 09930-00010 
      NOTE:
      • Be sure to use SST with the tapered surface facing the shaft.
      • Do not grind the tip of SST with a grinder or other device.
      • Completely loosen the staked part of the transfer gear nut when removing it.
      • Do not damage the threads of the output shaft sub-assembly.
    4. Using a 30 mm socket wrench, remove the transfer gear nut.
  17. REMOVE TRANSFER DRIVEN PINION 
    GTY366199Courtesy of © TOYOTA, LICENSE AGREEMENT TMS1002
    1. Using SST and a press, remove the transfer driven pinion from the rear transfer output shaft sub-assembly.
      • SST: 09950-00020 
      • SST: 09950-60011 
        1. 09951-00240
      • SST: 09950-70010 
        1. 09951-07100
      NOTE:

      Support the front transfer driven pinion bearing as shown in the illustration to avoid placing stress on the outer race.

  18. REMOVE REAR TRANSFER OUTPUT SHAFT DUST DEFLECTOR 
    1. Using SST and a press, remove the rear transfer output shaft dust deflector from the rear transfer output shaft sub-assembly.
      • SST: 09950-00020 
      GTY367359Courtesy of © TOYOTA, LICENSE AGREEMENT TMS1002
  19. REMOVE FRONT TRANSFER DRIVEN PINION BEARING 
    GTY217595Courtesy of © TOYOTA, LICENSE AGREEMENT TMS1002
    1. Using SST and a press, remove the front transfer driven pinion bearing from the transfer driven pinion.
      • SST: 09950-00020 
      • SST: 09950-60011 
        1. 09951-00410
      • SST: 09950-70010 
        1. 09951-07100
      NOTE:

      Support the front transfer driven pinion bearing as shown in the illustration to avoid placing stress on the outer race.

    2. GTY210981Courtesy of © TOYOTA, LICENSE AGREEMENT TMS1002

      Remove the O-ring from the front transfer driven pinion bearing.

  20. REMOVE TRANSFER OUTPUT SHAFT WASHER 
    GTY384712Courtesy of © TOYOTA, LICENSE AGREEMENT TMS1002
    1. Remove the transfer output shaft washer from the transfer driven pinion.
  21. REMOVE RING GEAR MOUNTING CASE BEARING RH 
    GTY368654Courtesy of © TOYOTA, LICENSE AGREEMENT TMS1002
    *a Turn
    *b Hold
    1. Using SST, remove the ring gear mounting case bearing RH (inner race) from the transfer ring gear mounting case.
      • SST: 09950-40011 
        1. 09951-04010
        2. 09952-04010
        3. 09953-04030
        4. 09954-04010
        5. 09955-04061
        6. 09957-04010
        7. 09958-04011
      • SST: 09950-60011 
        1. 09951-00540
      NOTE:
      • Apply a lubricant to the threads and end of SST.
      • Do not deform the cage of the ring gear mounting case bearing RH (inner race) (when reusing the bearing).
      • Place identification marks on the left and right ring gear mounting case bearings to distinguish them (backside, teeth side). Then store them separately (when reusing the bearings).
    2. Using SST and a hammer, remove the No. 2 transfer ring gear mounting case washer and ring gear mounting case bearing RH (outer race) from the No. 1 transfer case cover.
      GTY366797Courtesy of © TOYOTA, LICENSE AGREEMENT TMS1002
      *1 No. 2 Transfer Ring Gear Mounting Case Washer
      *2 Ring Gear Mounting Case Bearing RH (Outer Race)
      • SST: 09310-35010 
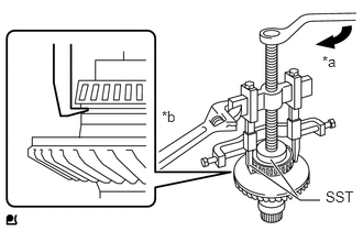
  22. REMOVE RING GEAR MOUNTING CASE BEARING LH 
    GTY380473Courtesy of © TOYOTA, LICENSE AGREEMENT TMS1002
    *a Turn
    *b Hold
    1. Using SST, remove the ring gear mounting case bearing LH (inner race) from the transfer ring gear mounting case.
      • SST: 09950-00020 
      • SST: 09950-00030 
      NOTE:
      • Apply a lubricant to the threads and end of SST.
      • Do not deform the cage of the ring gear mounting case bearing LH (inner race) (when reusing the bearing).
      • Place identification marks on the left and right ring gear mounting case bearings to distinguish them (backside, teeth side). Then store them separately (when reusing the bearings).
    2. Using SST and a hammer, remove the No. 1 ring gear mounting case washer and ring gear mounting case bearing LH (outer race) from the transfer case.
      • SST: 09636-20010 
      GTY366837Courtesy of © TOYOTA, LICENSE AGREEMENT TMS1002
      *1 No. 1 Ring Gear Mounting Case Washer
      *2 Ring Gear Mounting Case Bearing LH (Outer Race)
  23. REMOVE SHAFT SNAP RING 
    GTY381252Courtesy of © TOYOTA, LICENSE AGREEMENT TMS1002
    1. Using a snap ring expander, remove the shaft snap ring.
  24. REMOVE TRANSFER RING GEAR MOUNTING CASE 
    GTY372930Courtesy of © TOYOTA, LICENSE AGREEMENT TMS1002
    1. Using SST and a press, remove the transfer ring gear mounting case from the transfer ring gear.
      • SST: 09950-60011 
        1. 09951-00400
  25. REMOVE BREATHER OIL DEFLECTOR 
    GTY875574Courtesy of © TOYOTA, LICENSE AGREEMENT TMS1002
    1. Remove the 2 bolts and breather oil deflector from the transfer case.