LEMON Manuals: Even more car manuals for everyone: 1960-2025
Home >> Toyota >> 2021 >> Prius LE AWD-e >> Repair and Diagnosis >> External Pages >> Different car >> Section 249 (Transfer Case (Service Information)) >> Transfer Assembly >> Reassembly [08/2020 -] >> Procedure
April 5, 2026: LEMON Manuals is launched! Read the announcement.

Reassembly [08/2020 -]: Procedure

WARNING: This page is about a different car, the 2021 Toyota Avalon. However, it is still accessible from the selected car via links, so may be relevant.
  1. INSTALL BREATHER OIL DEFLECTOR 
    GTY875574Courtesy of © TOYOTA, LICENSE AGREEMENT TMS1002
    1. Install a new breather oil deflector to the transfer case with the 2 bolts.

      Torque: 6.5 N*m (66 kgf*cm, 58 in.*lbf) 

  2. INSTALL TRANSFER RING GEAR MOUNTING CASE 
    GTY893692Courtesy of © TOYOTA, LICENSE AGREEMENT TMS1002
    1. Using SST and a press, press the transfer ring gear mounting case into the transfer ring gear.
      • SST: 09316-12010 
      • SST: 09950-60011 
        1. 09951-00560
      NOTE:

      Do not put stress on the teeth of the transfer ring gear.

  3. INSTALL SHAFT SNAP RING 
    GTY381252Courtesy of © TOYOTA, LICENSE AGREEMENT TMS1002
    1. Using a snap ring expander, install a new shaft snap ring.
  4. INSTALL RING GEAR MOUNTING CASE BEARING RH 
    1. Install a new No. 2 transfer ring gear mounting case washer to the No. 1 transfer case cover.
      GTY369177Courtesy of © TOYOTA, LICENSE AGREEMENT TMS1002
      *1 No. 2 Transfer Ring Gear Mounting Case Washer
      *2 Ring Gear Mounting Case Bearing RH (Outer Race)

      HINT: 

      Install the No. 2 transfer ring gear mounting case washer with the same thickness as the one before the disassembly.

    2. Using SST and a press, press the ring gear mounting case bearing RH (outer race) into the No. 1 transfer case cover.
      • SST: 09950-60021 
        1. 09951-00750
        2. 09952-06010
      • SST: 09950-70010 
        1. 09951-07150
      • SST: 09951-00850 
      NOTE:
      • Press in the ring gear mounting case bearing RH (outer race) and No. 2 transfer ring gear mounting case washer until they fit to the edge.
      • Do not put stress on the rolling contact surface of the ring gear mounting case bearing RH (outer race).
    3. Using SST and a press, press the ring gear mounting case bearing RH (inner race) into the transfer ring gear mounting case.
      GTY383568Courtesy of © TOYOTA, LICENSE AGREEMENT TMS1002
      • SST: 09950-60011 
        1. 09951-00440
        2. 09951-00650
      NOTE:

      Do not deform the ring gear mounting case bearing RH (inner race) cage.

      HINT: 

      When reusing the ring gear mounting case bearing RH, coat the ring gear mounting case bearing RH with Toyota genuine differential gear oil LT SAE 75W-85 API GL-5 or equivalent.

  5. INSTALL RING GEAR MOUNTING CASE BEARING LH 
    1. Install a new No. 1 ring gear mounting case washer to the transfer case.
      GTY380156Courtesy of © TOYOTA, LICENSE AGREEMENT TMS1002
      *1 No. 1 Ring Gear Mounting Case Washer
      *2 Ring Gear Mounting Case Bearing LH (Outer Race)

      HINT: 

      Install the No. 1 ring gear mounting case washer with the same thickness as the one before the disassembly.

    2. Using SST and a press, press the ring gear mounting case bearing LH (outer race) into the transfer case.
      • SST: 09950-60011 
        1. 09951-00570
        2. 09951-00650
        3. 09952-06010
      • SST: 09950-70010 
        1. 09951-07150
      NOTE:
      • Press in the ring gear mounting case bearing LH (outer race) and No. 1 ring gear mounting case washer until they fit to the edge.
      • Do not put stress on the rolling contact surface of the ring gear mounting case bearing LH (outer race).
    3. Using SST and a press, press the ring gear mounting case bearing LH (inner race) into the transfer ring gear mounting case.
      GTY381472Courtesy of © TOYOTA, LICENSE AGREEMENT TMS1002
      • SST: 09336-16010 
      • SST: 09950-60011 
        1. 09951-00560
      NOTE:

      Do not deform the ring gear mounting case bearing LH (inner race) cage.

      HINT: 

      When reusing the ring gear mounting case bearing LH, coat the ring gear mounting case bearing LH with Toyota genuine differential gear oil LT SAE 75W-85 API GL-5 or equivalent.

  6. INSTALL TRANSFER OUTPUT SHAFT WASHER 
    GTY384712Courtesy of © TOYOTA, LICENSE AGREEMENT TMS1002
    1. Install the transfer output shaft washer to the transfer driven pinion.
  7. INSTALL FRONT TRANSFER DRIVEN PINION BEARING 
    GTY443424Courtesy of © TOYOTA, LICENSE AGREEMENT TMS1002
    1. Using SST and a press, press the front transfer driven pinion bearing into the transfer driven pinion.
      • SST: 09950-60011 
        1. 09951-00440
      • SST: 09950-60021 
        1. 09951-00750
      • SST: 09950-70010 
        1. 09951-07150
      NOTE:

      Do not apply stress to any parts of the front transfer driven pinion bearing inner race or transfer driven pinion other than the flat surfaces.

  8. INSTALL REAR TRANSFER OUTPUT SHAFT DUST DEFLECTOR 
    1. Using SST and a press, press a new rear transfer output shaft dust deflector into the rear transfer output shaft sub-assembly.
      • SST: 09316-12010 
      • SST: 09950-60021 
        1. 09951-00680
      GTY935766Courtesy of © TOYOTA, LICENSE AGREEMENT TMS1002
      NOTE:

      The rear transfer output shaft dust deflector should be installed completely.

  9. INSTALL TRANSFER DRIVEN PINION 
    1. Using SST and a press, press the rear transfer output shaft sub-assembly into the transfer driven pinion.
      GTY941199Courtesy of © TOYOTA, LICENSE AGREEMENT TMS1002
      • SST: 09506-30012 
      • SST: 09950-60021 
        1. 09951-00680
      NOTE:

      Do not apply stress to any parts of the transfer output shaft flange or transfer driven pinion other than the flat surfaces.

    2. Secure the rear transfer output shaft sub-assembly in a vise between aluminum plates.
      NOTE:

      Do not overtighten the vise.

      GTY936008Courtesy of © TOYOTA, LICENSE AGREEMENT TMS1002
    3. Using a 30 mm socket wrench, install a new transfer gear nut to the rear transfer output shaft sub-assembly.

      Torque: 360 N*m (3671 kgf*cm, 266 ft.*lbf) 

  10. INSTALL REAR TRANSFER OUTPUT SHAFT SUB-ASSEMBLY 
    1. Install a new O-ring to the front transfer driven pinion bearing.
      GTY889422Courtesy of © TOYOTA, LICENSE AGREEMENT TMS1002
      *1 O-ring
      NOTE:
      • Do not damage, deform or crack the O-ring.
      • Firmly install the O-ring into the groove of the front transfer driven pinion bearing.
    2. Install the rear transfer output shaft sub-assembly to the transfer case with the 5 bolts.
      GTY875372Courtesy of © TOYOTA, LICENSE AGREEMENT TMS1002

      Torque: 38 N*m (387 kgf*cm, 28 ft.*lbf) 

      NOTE:

      Do not damage, deform or crack the O-ring.

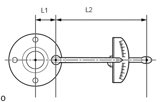
  11. INSPECT DRIVEN PINION PRELOAD 
    GTY924112Courtesy of © TOYOTA, LICENSE AGREEMENT TMS1002
    *1 Double Nut
    *a Torque Wrench Fulcrum Length
    1. Install the double nut to the transfer output shaft stud bolt and set the torque wrench into place.

      HINT: 

      Adjust the double nut until the torque wrench is straight.

    2. Using a torque wrench, check the total preload (starting torque) with the teeth of the drive pinion and ring gear in contact.

      Preload (at Starting)

      Item Driven Pinion Preload
      New bearing
      (with anti-rust oil)
      0.39 to 2.21 N*m (3.98 to 22.53 kgf*cm, 3.46 to 19.55 in.*lbf)
      Reused bearing
      (when coated with gear oil)
      0.39 to 2.21 N*m (3.98 to 22.53 kgf*cm, 3.46 to 19.55 in.*lbf)
      NOTE:

      Measure the preload after rotating the bearing several times in the forward and backward directions to make sure the bearing is operating correctly.

      HINT: 

      • When using a torque wrench after changing its effective length, determine the reading of the torque wrench.
        FORMULA T'=T X L2/(L1+L2)

        T' Reading of torque wrench (N*m (kgf*cm, ft.*lbf))
        T Driven pinion preload (N*m (kgf*cm, ft.*lbf))
        L1 Distance from center of transfer output shaft to center of stud bolt (cm (in.))
        L2 Length of torque wrench (cm (in.))
        GTY883823Courtesy of © TOYOTA, LICENSE AGREEMENT TMS1002
      • Distance from center of transfer output shaft to center of stud bolt (effective length of 38.9 mm (1.531 in.)) when using a torque wrench (effective length of 160 mm (6.30 in.)): 0.32 to 1.77 N*m (4 to 18 kgf*cm, 3 to 15 in.*lbf)
  12. INSTALL TRANSFER RING GEAR 
    GTY221220Courtesy of © TOYOTA, LICENSE AGREEMENT TMS1002
    1. Uniformly apply a light coat of Prussian Blue on both sides of the transfer ring gear teeth.
    2. Install the transfer ring gear to the transfer case.
      GTY875377Courtesy of © TOYOTA, LICENSE AGREEMENT TMS1002
  13. INSTALL NO. 1 TRANSFER CASE COVER 
    1. Install the No. 1 transfer case cover to the transfer case with the 8 bolts.
      GTY875379Courtesy of © TOYOTA, LICENSE AGREEMENT TMS1002

      Torque: 47 N*m (479 kgf*cm, 35 ft.*lbf) 

  14. ADJUST RING GEAR BACKLASH 
    1. Insert a dial indicator into the No. 2 transfer case plug hole, and place it perpendicular to the edge of a transfer ring gear tooth.
      GTY366884Courtesy of © TOYOTA, LICENSE AGREEMENT TMS1002
    2. While securing the rear transfer output shaft sub-assembly by hand, rotate the transfer ring gear mounting case forward and backward by hand and measure the backlash of the transfer ring gear and transfer driven pinion.

      Standard Backlash

      0.10 to 0.20 mm (0.00394 to 0.00787 in.)

      NOTE:

      Measure the ring gear at 3 or more locations.

    3. If the result is not within the specified range, select a No. 1 ring gear mounting case washer (for backlash adjustment) and a No. 2 transfer ring gear mounting case washer (for preload adjustment) from the table below and reinstall them to bring the result within the specified range.

      HINT: 

      • If the backlash is small, select a thick washer for the No. 1 ring gear mounting case washer (for backlash adjustment) and a thin washer for the No. 2 transfer ring gear mounting case washer (for preload adjustment).
      • If the backlash is large, select a thin washer for the No. 1 ring gear mounting case washer (for backlash adjustment) and a thick washer for the No. 2 transfer ring gear mounting case washer (for preload adjustment).

      No. 1 Ring Gear Mounting Case Washer (for backlash adjustment)

      Part No. Thickness Identifying Mark Part No. Thickness Identifying Mark
      36265-42010 1.97 mm (0.0776 in.) A0 36265-42210 2.37 mm (0.0933 in.) C0
      36265-42020 1.99 mm (0.0783 in.) A1 36265-42220 2.39 mm (0.0941 in.) C1
      36265-42030 2.01 mm (0.0791 in.) A2 36265-42230 2.41 mm (0.0949 in.) C2
      36265-42040 2.03 mm (0.0799 in.) A3 36265-42240 2.43 mm (0.0957 in.) C3
      36265-42050 2.05 mm (0.0807 in.) A4 36265-42250 2.45 mm (0.0965 in.) C4
      36265-42060 2.07 mm (0.0815 in.) A5 36265-42260 2.47 mm (0.0972 in.) C5
      36265-42070 2.09 mm (0.0823 in.) A6 36265-42270 2.49 mm (0.0980 in.) C6
      36265-42080 2.11 mm (0.0831 in.) A7 36265-42280 2.51 mm (0.0988 in.) C7
      36265-42090 2.13 mm (0.0839 in.) A8 36265-42290 2.53 mm (0.0996 in.) C8
      36265-42100 2.15 mm (0.0846 in.) A9 36265-42300 2.55 mm (0.1004 in.) C9
      36265-42110 2.17 mm (0.0854 in.) B0 36265-42310 2.57 mm (0.1012 in.) D0
      36265-42120 2.19 mm (0.0862 in.) B1 36265-42320 2.59 mm (0.1020 in.) D1
      36265-42130 2.21 mm (0.0870 in.) B2 36265-42330 2.61 mm (0.1028 in.) D2
      36265-42140 2.23 mm (0.0878 in.) B3 36265-42340 2.63 mm (0.1035 in.) D3
      36265-42150 2.25 mm (0.0886 in.) B4 36265-42350 2.65 mm (0.1043 in.) D4
      36265-42160 2.27 mm (0.0894 in.) B5 36265-42360 2.67 mm (0.1051 in.) D5
      36265-42170 2.29 mm (0.0902 in.) B6 36265-42370 2.69 mm (0.1059 in.) D6
      36265-42180 2.31 mm (0.0909 in.) B7 36265-42380 2.71 mm (0.1067 in.) D7
      36265-42190 2.33 mm (0.0917 in.) B8 36265-42390 2.73 mm (0.1075 in.) D8
      36265-42200 2.35 mm (0.0925 in.) B9 36265-42400 2.75 mm (0.1083 in.) D9

      No. 2 Transfer Ring Gear Mounting Case Washer (for preload adjustment)

      Part No. Thickness Identifying Mark Part No. Thickness Identifying Mark
      36266-52010 1.18 mm (0.0465 in.) A0 36266-52230 1.62 mm (0.0638 in.) C2
      36266-52020 1.20 mm (0.0472 in.) A1 36266-52240 1.64 mm (0.0646 in.) C3
      36266-52030 1.22 mm (0.0480 in.) A2 36266-52250 1.66 mm (0.0654 in.) C4
      36266-52040 1.24 mm (0.0488 in.) A3 36266-52260 1.68 mm (0.0661 in.) C5
      36266-52050 1.26 mm (0.0496 in.) A4 36266-52270 1.70 mm (0.0669 in.) C6
      36266-52060 1.28 mm (0.0504 in.) A5 36266-52280 1.72 mm (0.0677 in.) C7
      36266-52070 1.30 mm (0.0512 in.) A6 36266-52290 1.74 mm (0.0685 in.) C8
      36266-52080 1.32 mm (0.0520 in.) A7 36266-52300 1.76 mm (0.0693 in.) C9
      36266-52090 1.34 mm (0.0528 in.) A8 36266-52310 1.78 mm (0.0701 in.) D0
      36266-52100 1.36 mm (0.0535 in.) A9 36266-52320 1.80 mm (0.0709 in.) D1
      36266-52110 1.38 mm (0.0543 in.) B0 36266-52330 1.82 mm (0.0717 in.) D2
      36266-52120 1.40 mm (0.0551 in.) B1 36266-52340 1.84 mm (0.0724 in.) D3
      36266-52130 1.42 mm (0.0559 in.) B2 36266-52350 1.86 mm (0.0732 in.) D4
      36266-52140 1.44 mm (0.0567 in.) B3 36266-52360 1.88 mm (0.0740 in.) D5
      36266-52150 1.46 mm (0.0575 in.) B4 36266-52370 1.90 mm (0.0748 in.) D6
      36266-52160 1.48 mm (0.0583 in.) B5 36266-52380 1.92 mm (0.0756 in.) D7
      36266-52170 1.50 mm (0.0591 in.) B6 36266-52390 1.94 mm (0.0764 in.) D8
      36266-52180 1.52 mm (0.0598 in.) B7 36266-52400 1.96 mm (0.0772 in.) D9
      36266-52190 1.54 mm (0.0606 in.) B8 36266-52410 1.98 mm (0.0780 in.) E0
      36266-52200 1.56 mm (0.0614 in.) B9 36266-52420 2.00 mm (0.0787 in.) E1
      36266-52210 1.58 mm (0.0622 in.) C0 36266-52430 2.02 mm (0.0795 in.) E2
      36266-52220 1.60 mm (0.0630 in.) C1 - - -
  15. ADJUST TOTAL PRELOAD 
    1. Install the double nut to the transfer output shaft stud bolt and set the torque wrench into place.
      GTY903631Courtesy of © TOYOTA, LICENSE AGREEMENT TMS1002
      *1 Double Nut
      *a Torque Wrench Fulcrum Length

      HINT: 

      Adjust the double nut until the torque wrench is straight.

    2. Using a torque wrench, check the total preload (starting torque) with the teeth of the drive pinion and ring gear in contact.

      Total Preload (Starting Torque)

      Item Specified Condition
      New bearing (with anti-rust oil) Driven pinion preload + 0.31 to 0.81 N*m (3.17 to 8.25 kgf*cm, 2.75 to 7.16 in.*lbf)
      Reused bearing (when coated with gear oil) Driven pinion preload + 0.48 to 0.64 N*m (4.90 to 6.52 kgf*cm, 4.25 to 5.66 in.*lbf)
      NOTE:

      Measure the preload after rotating the bearing several times in the forward and backward directions to make sure the bearing is operating correctly.

      HINT: 

      • When using a torque wrench after changing its effective length, determine the reading of the torque wrench.
        FORMULA T'=T X L2/(L1+L2)

        T' Reading of torque wrench (N*m (kgf*cm, ft.*lbf))
        T Driven pinion preload (N*m (kgf*cm, ft.*lbf))
        L1 Distance from center of transfer output shaft to center of stud bolt (cm (in.))
        L2 Length of torque wrench (cm (in.))
        GTY883823Courtesy of © TOYOTA, LICENSE AGREEMENT TMS1002
      • Distance from center of transfer output shaft to center of stud bolt (effective length of 38.9 mm (1.531 in.)) when using a torque wrench (effective length of 160 mm (6.30 in.)): 0.25 to 0.65 N*m (3 to 6 kgf*cm, 3 to 5 in.*lbf)
      • Distance from center of transfer output shaft to center of stud bolt (effective length of 38.9 mm (1.531 in.)) when using a torque wrench (effective length of 160 mm (6.30 in.)): 0.39 to 0.51 N*m (4 to 5 kgf*cm, 3.46 to 4.51 in.*lbf)
    3. If the result is not within the specified range, select a No. 2 transfer ring gear mounting case washer (for preload adjustment) from the table below and reinstall it to bring the result within the specified range.

      HINT: 

      • If the preload is small, select a thick washer for the No. 2 transfer ring gear mounting case washer (for preload adjustment).
      • If the preload is large, select a thin washer for the No. 2 transfer ring gear mounting case washer (for preload adjustment).

      No. 2 Transfer Ring Gear Mounting Case Washer (for preload adjustment)

      Part No. Thickness Identifying Mark Part No. Thickness Identifying Mark
      36266-52010 1.18 mm (0.0465 in.) A0 36266-52230 1.62 mm (0.0638 in.) C2
      36266-52020 1.20 mm (0.0472 in.) A1 36266-52240 1.64 mm (0.0646 in.) C3
      36266-52030 1.22 mm (0.0480 in.) A2 36266-52250 1.66 mm (0.0654 in.) C4
      36266-52040 1.24 mm (0.0488 in.) A3 36266-52260 1.68 mm (0.0661 in.) C5
      36266-52050 1.26 mm (0.0496 in.) A4 36266-52270 1.70 mm (0.0669 in.) C6
      36266-52060 1.28 mm (0.0504 in.) A5 36266-52280 1.72 mm (0.0677 in.) C7
      36266-52070 1.30 mm (0.0512 in.) A6 36266-52290 1.74 mm (0.0685 in.) C8
      36266-52080 1.32 mm (0.0520 in.) A7 36266-52300 1.76 mm (0.0693 in.) C9
      36266-52090 1.34 mm (0.0528 in.) A8 36266-52310 1.78 mm (0.0701 in.) D0
      36266-52100 1.36 mm (0.0535 in.) A9 36266-52320 1.80 mm (0.0709 in.) D1
      36266-52110 1.38 mm (0.0543 in.) B0 36266-52330 1.82 mm (0.0717 in.) D2
      36266-52120 1.40 mm (0.0551 in.) B1 36266-52340 1.84 mm (0.0724 in.) D3
      36266-52130 1.42 mm (0.0559 in.) B2 36266-52350 1.86 mm (0.0732 in.) D4
      36266-52140 1.44 mm (0.0567 in.) B3 36266-52360 1.88 mm (0.0740 in.) D5
      36266-52150 1.46 mm (0.0575 in.) B4 36266-52370 1.90 mm (0.0748 in.) D6
      36266-52160 1.48 mm (0.0583 in.) B5 36266-52380 1.92 mm (0.0756 in.) D7
      36266-52170 1.50 mm (0.0591 in.) B6 36266-52390 1.94 mm (0.0764 in.) D8
      36266-52180 1.52 mm (0.0598 in.) B7 36266-52400 1.96 mm (0.0772 in.) D9
      36266-52190 1.54 mm (0.0606 in.) B8 36266-52410 1.98 mm (0.0780 in.) E0
      36266-52200 1.56 mm (0.0614 in.) B9 36266-52420 2.00 mm (0.0787 in.) E1
      36266-52210 1.58 mm (0.0622 in.) C0 36266-52430 2.02 mm (0.0795 in.) E2
      36266-52220 1.60 mm (0.0630 in.) C1 - - -
  16. ADJUST TOOTH CONTACT BETWEEN RING GEAR AND DRIVE PINION 
    1. Rotate the rear transfer output shaft sub-assembly several times in the forward and backward directions.
    2. Remove the transfer ring gear and check the tooth contact.
      GTY371195Courtesy of © TOYOTA, LICENSE AGREEMENT TMS1002
      *a Proper Contact *b Heel Contact
      *c Face Contact *d Select an adjusting washer that will shift the drive pinion closer to the ring gear (*b, *c)
      *e Toe Contact *f Flank Contact
      *g Select an adjusting washer that will shift the drive pinion away from the ring gear (*e, *f) - -
      NOTE:
      • Check the tooth contact at 4 or more locations on the transfer ring gear.
      • When replacing washers (adjusting the backlash, preload or tooth contact pattern), reapply a coat of Prussian Blue.

      HINT: 

      The Prussian Blue pattern indicates the tooth contact points.

    3. In instances of face contact or flank contact, perform the following procedure.
      1. Move and adjust the transfer ring gear using the No. 2 transfer ring gear mounting case washer (for preload adjustment) and the No. 1 ring gear mounting case washer (for backlash adjustment).
    4. In instances of heel contact or toe contact, perform the following procedure.
      1. Select a transfer output shaft washer (for tooth contact adjustment) from the table below, and move and adjust the transfer driven pinion.

        Transfer Output Shaft Washer (for tooth contact adjustment)

        Part No. Thickness Identifying Mark Part No. Thickness Identifying Mark
        36275-52010 1.02 mm (0.0402 in.) 01 36275-52150 1.30 mm (0.0512 in.) 15
        36275-52020 1.04 mm (0.0409 in.) 02 36275-52160 1.32 mm (0.0520 in.) 16
        36275-52030 1.06 mm (0.0417 in.) 03 36275-52170 1.34 mm (0.0528 in.) 17
        36275-52040 1.08 mm (0.0425 in.) 04 36275-52180 1.36 mm (0.0535 in.) 18
        36275-52050 1.10 mm (0.0433 in.) 05 36275-52190 1.38 mm (0.0543 in.) 19
        36275-52060 1.12 mm (0.0441 in.) 06 36275-52200 1.40 mm (0.0551 in.) 20
        36275-52070 1.14 mm (0.0449 in.) 07 36275-52210 1.42 mm (0.0559 in.) 21
        36275-52080 1.16 mm (0.0457 in.) 08 36275-52220 1.44 mm (0.0567 in.) 22
        36275-52090 1.18 mm (0.0465 in.) 09 36275-52230 1.46 mm (0.0575 in.) 23
        36275-52100 1.20 mm (0.0472 in.) 10 36275-52240 1.48 mm (0.0583 in.) 24
        36275-52110 1.22 mm (0.0480 in.) 11 36275-52250 1.50 mm (0.0591 in.) 25
        36275-52120 1.24 mm (0.0488 in.) 12 36275-52260 1.52 mm (0.0598 in.) 26
        36275-52130 1.26 mm (0.0496 in.) 13 36275-52270 1.54 mm (0.0606 in.) 27
        36275-52140 1.28 mm (0.0504 in.) 14 36275-52280 1.56 mm (0.0614 in.) 28
    5. If the tooth contact has been adjusted, recheck the backlash, preload and tooth contact pattern.
  17. REMOVE NO. 1 TRANSFER CASE COVER 
    1. Remove the 8 bolts and No. 1 transfer case cover from the transfer case.
      GTY875379Courtesy of © TOYOTA, LICENSE AGREEMENT TMS1002
  18. REMOVE TRANSFER RING GEAR 
    1. Remove the transfer ring gear from the transfer case.
      GTY875377Courtesy of © TOYOTA, LICENSE AGREEMENT TMS1002
  19. REMOVE REAR TRANSFER OUTPUT SHAFT SUB-ASSEMBLY 
    1. Remove the 5 bolts and rear transfer output shaft sub-assembly from the transfer case.
      GTY875372Courtesy of © TOYOTA, LICENSE AGREEMENT TMS1002
  20. INSTALL TRANSFER CASE STRAIGHT PIN 
    1. Using a plastic-faced hammer, install transfer case straight pins to the locations shown in the illustration.
      GTY918503Courtesy of © TOYOTA, LICENSE AGREEMENT TMS1002

      Drive in Depth (A)

      10.8 to 11.8 mm (0.426 to 0.464 in.)

      Drive in Depth (B)

      6.5 to 7.5 mm (0.256 to 0.295 in.)

  21. INSTALL REAR TRANSFER OUTPUT SHAFT SUB-ASSEMBLY 
    1. Secure the rear transfer output shaft sub-assembly in a vise between aluminum plates.
      GTY365894Courtesy of © TOYOTA, LICENSE AGREEMENT TMS1002
      NOTE:

      Do not overtighten the vise.

    2. Using a chisel and hammer, stake the transfer gear nut.
      NOTE:

      Fully stake the transfer gear nut along the entire groove.

    3. Install the rear transfer output shaft sub-assembly to the transfer case with the 5 bolts.
      GTY875372Courtesy of © TOYOTA, LICENSE AGREEMENT TMS1002

      Torque: 38 N*m (387 kgf*cm, 28 ft.*lbf) 

      NOTE:

      Do not scratch, twist or break the O-ring.

  22. INSTALL TRANSFER RING GEAR 
    1. Install the transfer ring gear to the transfer case.
      GTY875377Courtesy of © TOYOTA, LICENSE AGREEMENT TMS1002
  23. INSTALL NO. 1 TRANSFER CASE COVER 
    1. Clean and degrease the installation surfaces of the transfer case and No. 1 transfer case cover.
      NOTE:

      Do not damage the installation surface.

    2. Apply seal packing 1281 to the transfer case in a continuous bead at the position shown in the illustration.
      GTY922006Courtesy of © TOYOTA, LICENSE AGREEMENT TMS1002
      *a Seal Packing *b 30°
      *c Seal Width 2.5 to 3.5 mm (0.099 to 0.137 in.) *d Seal Width 3.0 to 4.0 mm (0.119 to 0.157 in.)
      *e Seal Width 2.0 to 3.0 mm (0.079 to 0.118 in.) - -

      Seal Packing

      Toyota Genuine Seal Packing 1281, Three Bond 1281 or equivalent

      NOTE:
      • After applying seal packing, install the part within 3 minutes and tighten it within 10 minutes.
      • Overlap the seal packing application start and end positions by 10 mm (0.39 in.) or more.
      • Place the seal packing application start position within the range (A).
      • Apply seal packing in a continuous line.
    3. Install the No. 1 transfer case cover with the 8 bolts.
      GTY875379Courtesy of © TOYOTA, LICENSE AGREEMENT TMS1002

      Torque: 47 N*m (479 kgf*cm, 35 ft.*lbf) 

  24. INSTALL TRANSFER CASE OIL SEAL 

    See step  5

  25. INSTALL TRANSFER CASE OIL SEAL RH 
    1. Coat the lip of a new transfer case oil seal RH with MP grease.
    2. Using SST and a hammer, tap in the transfer case oil seal RH as shown in the illustration.
      GTY881579Courtesy of © TOYOTA, LICENSE AGREEMENT TMS1002
      *1 Transfer Case Oil Seal RH
      • SST: 09631-32020 
      • SST: 09223-46011 

      Drive in Depth (A)

      7.5 to 8.5 mm (0.296 to 0.334 in.)

      NOTE:
      • Tap the transfer case oil seal RH uniformly so that the transfer case oil seal RH is straight.
      • Do not tap the transfer case oil seal RH in too far.
  26. INSTALL TRANSFER CASE BREATHER PLUG 
    1. Using SST, tap in a new transfer case breather plug until it meets the transfer case.
      GTY863540Courtesy of © TOYOTA, LICENSE AGREEMENT TMS1002
      • SST: 09612-10093 
        1. 09612-10061
  27. INSTALL TRANSFER FILLER PLUG 
    1. Using a 10 mm socket hexagon wrench, install the transfer filler plug and a new gasket.
      GTY875427Courtesy of © TOYOTA, LICENSE AGREEMENT TMS1002

      Torque: 39 N*m (398 kgf*cm, 29 ft.*lbf) 

  28. INSTALL TRANSFER DRAIN PLUG 
    1. Using a 10 mm socket hexagon wrench, install the transfer drain plug and a new gasket.
      GTY875428Courtesy of © TOYOTA, LICENSE AGREEMENT TMS1002

      Torque: 39 N*m (398 kgf*cm, 29 ft.*lbf) 

  29. INSTALL NO. 1 TRANSFER CASE PLUG 
    1. Install the No. 1 transfer case plug and a new gasket.
      GTY875423Courtesy of © TOYOTA, LICENSE AGREEMENT TMS1002

      Torque: 49 N*m (500 kgf*cm, 36 ft.*lbf) 

  30. REMOVE TRANSFER ASSEMBLY 
    1. Remove the transfer assembly from the overhaul attachment.
      GTY934366Courtesy of © TOYOTA, LICENSE AGREEMENT TMS1002
  31. INSTALL TRANSFER AND TRANSAXLE SETTING STUD BOLT 
    1. Clean the bolt holes.
    2. Using 2 nuts, install 4 new transfer and transaxle setting stud bolts in the locations shown in the illustration.
      GTY861295Courtesy of © TOYOTA, LICENSE AGREEMENT TMS1002
      *a Adhesive 1324
      *b 64 mm (2.52 in.)

      Torque: 39.2 N*m (400 kgf*cm, 29 ft.*lbf) 

      NOTE:

      Install the shorter threaded part of each transfer and transaxle setting stud bolt to the transfer assembly side.