LEMON Manuals: Even more car manuals for everyone: 1960-2025
Home >> Volvo >> 2002 >> S80 Base >> Repair and Diagnosis >> Electrical >> Wiring Diagrams >> OEM Connector End Views >> Connector End Views >> Control Module FR Door PDM/DDM Connector End View (3/127)
April 5, 2026: LEMON Manuals is launched! Read the announcement.

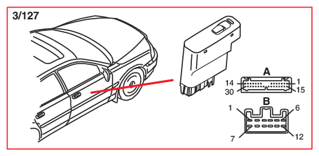
Control Module FR Door PDM/DDM Connector End View (3/127)

Fig 1: Control Module FR Door PDM/DDM Connector End View (3/127)
G10803639Courtesy of VOLVO CARS CORPORATION