LEMON Manuals: Even more car manuals for everyone: 1960-2025
Home >> Volvo >> 2002 >> V70 XC >> Repair and Diagnosis >> Engine Performance >> Engine Control Systems >> Bulbs, Control Modules, Charging - Design And Function >> Driver Information Module (2001) >> Function >> Seat belt reminder
April 5, 2026: LEMON Manuals is launched! Read the announcement.

Seat belt reminder

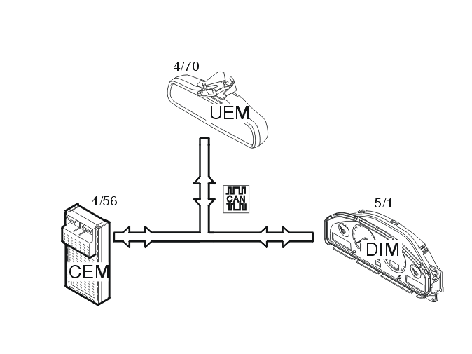
Fig 1: Identifying Seat Belt Reminder Input And Output Signals
GLL106017Courtesy of VOLVO CARS OF NORTH AMERICA.

The seat belt reminder reminds the driver to put on the seat belt. There are two versions of the seat belt reminder - European and American. They are slightly different, which is outlined below. The signals which indicate the variant in the car (European or American) are transmitted by the central electronic module (4/56) via the Control Area Network (CAN). Two small symbols light in the upper electronic module (4/70) and indicate when a seat belt is not fastened. The driver information module (5/1) emits an audible signal to warn the driver that no seat belt is fastened. From model year 2002 inclusive, there is also a display on the combined instrument panel (5/1) which warns the driver if their belt is not fastened.

European version 

If the seat belt is not fastened when the ignition is switched on, the symbols in the upper electronic module will light and there will be an audible signal from the driver information module. This continues for 6 seconds until either the seat belt is fastened or reverse gear is selected. If the car travels at 10 km/h or more, the audible signal reactivates if the driver has not fastened his/her seat belt.

American version 

When the ignition is switched on, the symbols in the upper electronic module will light continuously for 6 seconds, or until the driver's seat belt is fastened. At the same time there will be a ringing sound from the driver information module for the same period of time. If the driver releases the belt after fastening it, the audible signal will not resume if more than 6 seconds have passed since the ignition was switched on.