LEMON Manuals: Even more car manuals for everyone: 1960-2025
Home >> Volvo >> 2002 >> V70 XC >> Repair and Diagnosis >> Engine Performance >> Engine Control Systems >> Bulbs, Control Modules, Charging - Design And Function >> Phone Module (PHM) (2001-2007) >> Function >> Volvo On Call Plus
April 5, 2026: LEMON Manuals is launched! Read the announcement.

Volvo On Call Plus

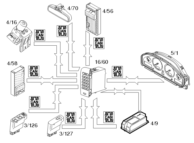
Fig 1: Identifying Volvo On Call Plus Input And Output Signals
GLL106463Courtesy of VOLVO CARS OF NORTH AMERICA.

Volvo On Call Plus is a system developed by Volvo which gives the owner access to various safety and service features. The system has been developed to give the driver and passengers, using the carphone quick contact with the Volvo On Call Plus Service Center. The staff at the service center determine the action required depending on the circumstances. The Service Center, using the data provided by the Volvo On Call Plus system, are able to identify the exact position of the car so that they can direct the ambulance, police and/or breakdown services to the car. The different services provided by the Service Center can be divided into two categories, safety and service.

Each time a Volvo On Call Plus service is started, the relevant vehicle data is transmitted to the Volvo On Call Plus Service Center. The vehicle data contains information about:

Safety 

An SOS service can be started in two different ways:

In a collision in which an SRS component has been activated, a signal is transmitted from the supplemental restraint system module (SRS) to the phone module (PHM). The phone module (PHM) transmits vehicle data to the Volvo On Call Plus Service Center which then connects a voice call to the car. The voice call is connected to determine the action required, e.g. ambulance, breakdown services etc. The phone module (PHM) also transmits data to the driver information module (5/1) so that a text message is displayed indicating that a Volvo On Call Plus service has been activated and its status.

The central electronic module (CEM) transmits a signal to the phone module (PHM) about the status of the main battery on the CAN network. The phone module (PHM) uses this information to determine whether the main or reserve battery should be used. When an SOS service is first activated, the phone module (PHM) will always use the reserve battery while it checks that there is sufficient voltage from the main battery. The main battery is then used if it has sufficient power.

Service 

Using the ON CALL button, the customer has access to different services such as:

The car is unlocked remotely after the owner has contacted the Volvo On Call Plus Service Center, identified themselves with a password and requested the required service. The owner and the Volvo On Call Plus Service Center then decide the time at which the car will be unlocked. The Service Center will then send a command to the phone module (PHM) to unlock the car.

For cars without a switch in the tailgate  , the phone module (PHM) then transmits a request via the CAN network to the central electronic module (CEM), which unlocks the car at the agreed time. The phone module (PHM) then transmits a confirmation that the car has been unlocked to the Volvo On Call Plus Service Center. When one of the doors or tailgate is opened, the alarm is triggered. The alarm is then active until it is correctly deactivated.

For cars with a switch in the tailgate  , the rear electronic module (REM) sends a signal via the CAN network to the phone module (PHM) when the tailgate handle is closed. If the signal from the rear electronic module (REM) matches the time interval agreed by the customer and the Volvo On Call Plus Service Center, the phone module (PHM) then transmits a request to unlock the car to the central electronic module via the CAN network. The phone module (PHM) then transmits an acknowledgment to the Volvo On Call Plus Service Center that the car has been unlocked. When one of the doors or tailgate is opened, the alarm is triggered. The alarm is then active until it is correctly deactivated.

If the alarm is activated, for example during an attempted theft, data about the status of the alarm is transmitted from the upper electronic module (UEM) to the phone module (PHM) via the central electronic module (CEM). The phone module (PHM) then transmits the vehicle data to the Volvo On Call Plus Service Center, which contacts the owner to tell them what is happening.

If the car has been stolen, the owner can ask the Service Center to trace the car. The Volvo On Call Plus Service Center then transmits a request to the phone module (PHM) requesting that the vehicle data is sent continuously. The Volvo On Call Plus Service Center determines the interval at which vehicle data is transmitted.