LEMON Manuals: Even more car manuals for everyone: 1960-2025
Home >> Volvo >> 2003 >> S40 >> Repair and Diagnosis >> Electrical >> Component Locations >> Electrical Component Locator >> Component Location Graphics
April 5, 2026: LEMON Manuals is launched! Read the announcement.

Component Location Graphics

NOTE: Figures may show multiple component locations. Refer to appropriate table for proper figure references.
Fig 1: Overview Of Vehicle
G00150972Courtesy of VOLVO CARS OF NORTH AMERICA.
Fig 2: Engine Compartment
G00186215Courtesy of VOLVO CARS OF NORTH AMERICA.
Fig 3: Engine Compartment
G00150973Courtesy of VOLVO CARS OF NORTH AMERICA.
Fig 4: Engine Compartment
G00150974Courtesy of VOLVO CARS OF NORTH AMERICA.
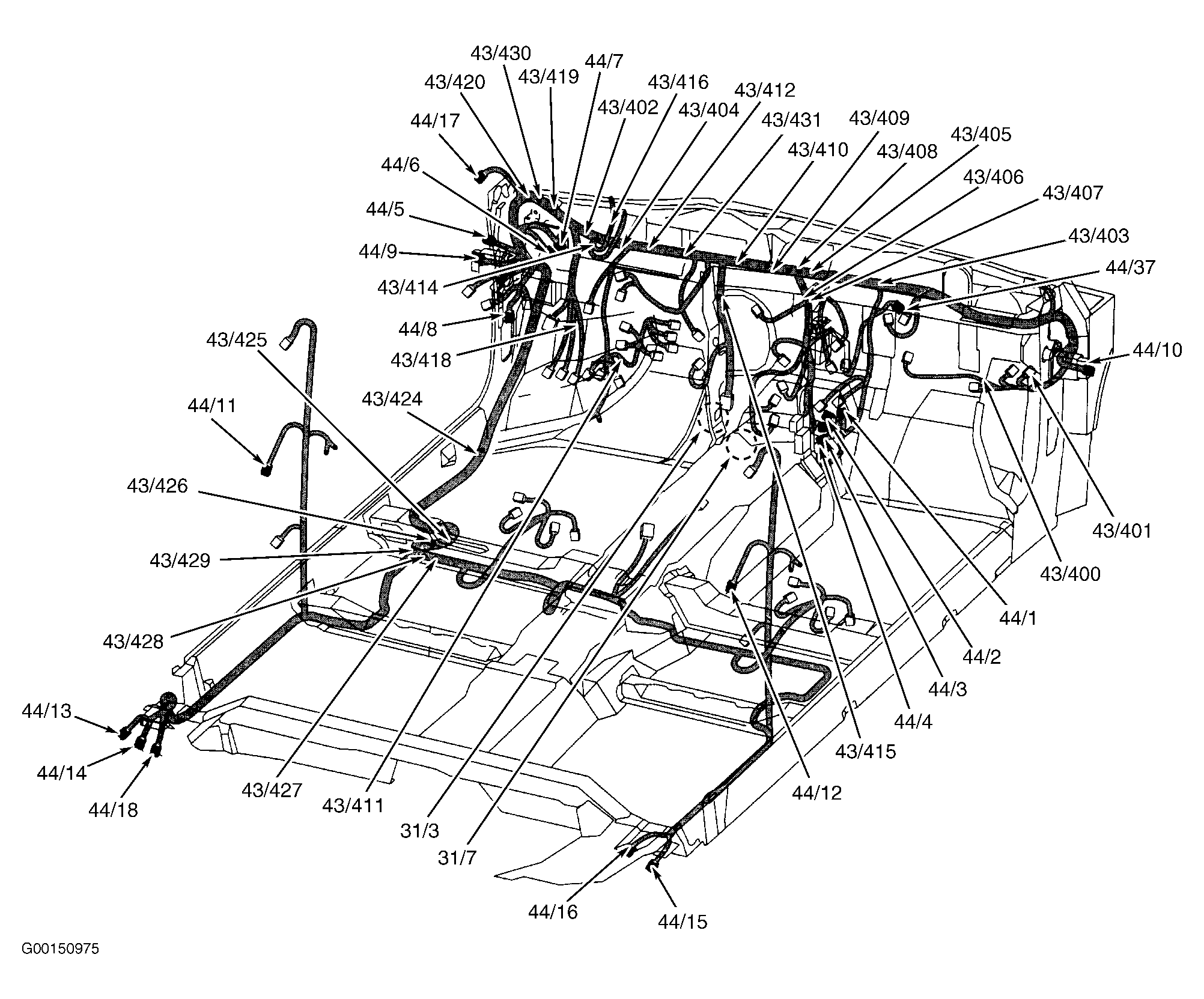
Fig 5: Passenger Compartment & Dash
G00150975Courtesy of VOLVO CARS OF NORTH AMERICA.