LEMON Manuals: Even more car manuals for everyone: 1960-2025
Home >> Volvo >> 2006 >> C70 Automatic >> Repair and Diagnosis >> Electrical >> Body Electrical >> Central Electronic Module, Gas Discharge Lamp Module, Start Control Module And Accessory USB Unit - Electrical Specifications >> Component Specification, Start Control Module (SCU) >> Component Specification >> Start Control Module (SCU) (3/1) >> Terminal
April 5, 2026: LEMON Manuals is launched! Read the announcement.

Start Control Module (SCU) (3/1): Terminal

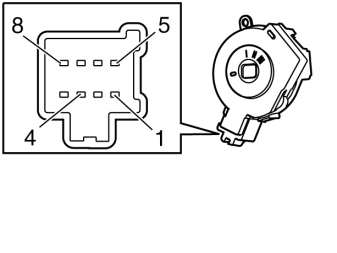
Fig 1: Identifying Ignition Switch Power Supply Connector
GLL158818Courtesy of VOLVO CARS CORPORATION
Connector terminal  Signal type  Other 
#1 Power supply +75 accessory Out
#2 Power supply Crank Out
#3 Power supply Ignition on Out
#4 Not connected Out
#5 30 supply power supply Key in Out
#6 30 supply power supply Immobilizer Out
#7 Battery voltage In
#8 Solenoid Out
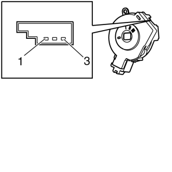
Fig 2: Identifying Ignition Switch Ground And LIN Communication Connector
GLL158819Courtesy of VOLVO CARS CORPORATION
Connector terminal  Signal type  Other 
#1 Ground In
#2 LIN communication In / Out
#3 Power supply Immobilizer -