LEMON Manuals: Even more car manuals for everyone: 1960-2025
Home >> Volvo >> 2007 >> C70 Automatic >> Repair and Diagnosis (Single Page) >> Engine Performance >> System >> Electronics - Design And Function - 1 Of 4 >> Central Electronic Module (CEM) (2006-2013) >> Function >> Rear Demist
April 5, 2026: LEMON Manuals is launched! Read the announcement.

Rear Demist

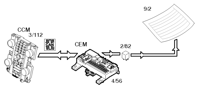
Fig 1: Identifying Rear Demist
GLL128614Courtesy of VOLVO CARS CORPORATION

Rear demist (9/2) is activated by pressing the switch on the climate control module (CCM) (3/112). The climate control module (CCM) transmits the data via the Control area network (CAN) to the central electronic module (CEM) (4/56).

The central electronic module (CEM) checks that the conditions to start the demist have been met. If the conditions are met the central electronic module (CEM) activates the relay (2/82) and the heating is supplied with power via the relay.

The central electronic module (CEM) also transmits a request via the Control area network (CAN) back to the climate control module (CCM) to light the LED in the switch.

When the roof is opened on the C70, the rear demist on the rear windshield switches off automatically.