LEMON Manuals: Even more car manuals for everyone: 1960-2025
Home >> Volvo >> 2007 >> S60 Base, AWD >> Repair and Diagnosis (Single Page) >> Electrical >> Body Electrical >> Central Electronic Module (CEM), Rear Electronic Module (Rem), Upper Electronics Module (UEM) - Diagnostic Trouble Codes - 5 Of 13 >> CEM-1E05: Communication With The Additional Heater Module. Signal Missing. Permanent Fault (2001-2004) >> Signal missing. Permanent fault >> Checking components
April 5, 2026: LEMON Manuals is launched! Read the announcement.

Checking components

The diagnostic trouble code (DTC) indicates that the communication between the additional heater module and the central electronic module (CEM) is interrupted. This may be due to a fault in the cable between the control modules or a defective communication device in one or both of the control modules.

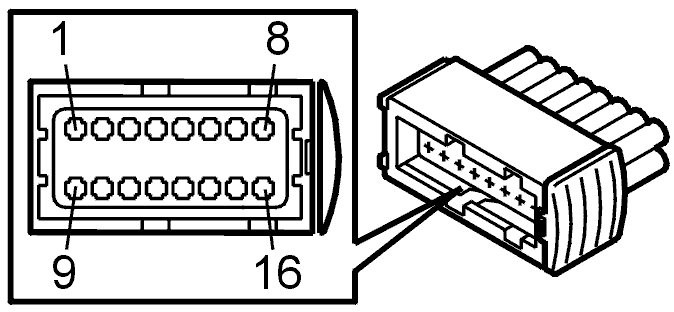
Check the cable between central electronic module (CEM) connector terminal #18A and additional heater terminal #6. Check for an open-circuit. Check for a short-circuit to ground.

Other information: 

Fig 1: Identifying Connector Terminals
GLL104183Courtesy of VOLVO CARS OF NORTH AMERICA.
Fig 2: Identifying Ohm Meter
GLL101042Courtesy of VOLVO CARS OF NORTH AMERICA.
Fig 3: Control Module Terminals (1 Of 2)
GLL104046Courtesy of VOLVO CARS OF NORTH AMERICA.

Was a fault detected?