LEMON Manuals: Even more car manuals for everyone: 1960-2025
Home >> Volvo >> 2007 >> S60 Base, AWD >> Repair and Diagnosis (Single Page) >> Electrical >> Body Electrical >> Central Electronic Module (CEM), Rear Electronic Module (Rem), Upper Electronics Module (UEM) - Diagnostic Trouble Codes - 5 Of 13 >> CEM-3A04: Fuel Pump. Signal Too High. Intermittent Fault (2001-2004) >> Signal too high. Intermittent fault >> Intermittent fault
April 5, 2026: LEMON Manuals is launched! Read the announcement.

Intermittent fault

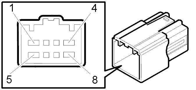
Fig 1: Identifying Ignition OFF
GLL101045Courtesy of VOLVO CARS OF NORTH AMERICA.