LEMON Manuals: Even more car manuals for everyone: 1960-2025
Home >> Volvo >> 2007 >> S60 Base, AWD >> Repair and Diagnosis (Single Page) >> Quick Lookups >> Wiring Diagrams >> OEM Connector End Views >> Connector End Views >> Inclination Sensor Module (ISM) Connector End View (7/100)
April 5, 2026: LEMON Manuals is launched! Read the announcement.

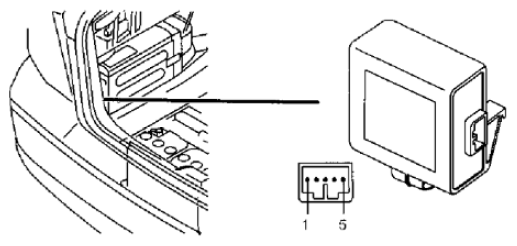
Inclination Sensor Module (ISM) Connector End View (7/100)

Fig 1: Inclination Sensor Module (ISM) Connector End View (7/100)
G10807321Courtesy of VOLVO CARS CORPORATION