LEMON Manuals: Even more car manuals for everyone: 1960-2025
Home >> Volvo >> 2008 >> S80 Base >> Repair and Diagnosis >> General Information >> OEM General Information >> Thread Inserts - General Information >> Threads >> Tapping Thread In Spark Plug Hole
April 5, 2026: LEMON Manuals is launched! Read the announcement.

Tapping Thread In Spark Plug Hole

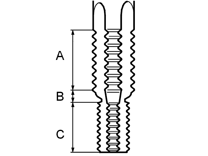
Fig 1: Identifying Tap, Reamer, And Steering
GLL100841Courtesy of VOLVO CARS CORPORATION

Use combination tap 998 5823-5 and thread repair inserts for spark plug thread M14x1, 25  .

NOTE:

Do not drill out spark plug threads.

Combined tap 

A:  Tap.

B:  Reamer.

C:  Steering.