LEMON Manuals: Even more car manuals for everyone: 1960-2025
Home >> Volvo >> 2009 >> C30 R-Design, Standard >> Repair and Diagnosis >> Brakes >> Traction Control >> Brake Control Module (BCM) - General Diagnostics And Tests >> Brake Control Module (BCM) >> Connecting The Breakout Box
April 5, 2026: LEMON Manuals is launched! Read the announcement.

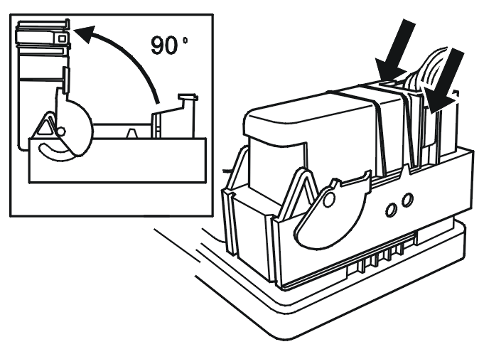
Connecting The Breakout Box

Special tools: 

see 9511428

see 9512958

Fig 1: Identifying Brake Control Module (BCM)
GLL141105Courtesy of VOLVO CARS CORPORATION