LEMON Manuals: Even more car manuals for everyone: 1960-2025
Home >> Volvo >> 2009 >> S80 V8 >> Repair and Diagnosis >> Brakes >> Traction Control >> Brake Control Module (BCM) - Specifications, Electrical/Electronic >> Brake Control Module (BCM) >> Component Specifications >> Vacuum Sensor 7/160 >> Pedal Pressure Sensor/Check Valve (Same Connector)
April 5, 2026: LEMON Manuals is launched! Read the announcement.

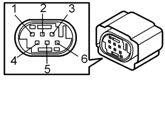
Pedal Pressure Sensor/Check Valve (Same Connector)

Type 

Pedal pressure sensor: Two-pin, quickshifter located within the brake servo on the brake servo pushrod

Check valve: Electric coil with magnet core and valve

Characteristic pedal pressure sensor 

Resistance between terminals #1 and #5 should be infinite when the brake pedal is not actuated and 0 Ω when the brake pedal is depressed

Resistance between terminals #2 and #5 should be 0 Ω when the brake pedal is not actuated and infinite when the brake pedal is depressed

Characteristic, check valve 

Resistance between terminals #3 and #4 should be approx. 3 Ω.

Check, pedal pressure sensor 

Prerequisites (unless otherwise specified):

Check 

Check 1, pedal pressure sensor 

Voltage betwen terminals #21 (#A21) and #23 (#A23) should be 0 V when the brake pedal is not actuated and 12 V when the brake pedal is depressed.

Voltage betwen terminals #21 (#A21) and #24 (#A24) should be 12 V when the brake pedal is not actuated and 0 V when the brake pedal is depressed.

Check 1, check valve 

Voltage between terminals #17 (A#17) and #31 (#A31) should be 12 V.

Fig 1: Identifying Pedal Pressure Sensor Terminals
GLL104187Courtesy of VOLVO CARS CORPORATION