LEMON Manuals: Even more car manuals for everyone: 1960-2025
Home >> Volvo >> 2009 >> V70 >> Repair and Diagnosis >> Electrical >> Charging Systems >> Alarm, Electrical Control Modules, Brakes, Brake Control Module (BCM) - Design And Function >> Central Electronic Module (CEM) >> Function >> Front Fog Lamps
April 5, 2026: LEMON Manuals is launched! Read the announcement.

Front Fog Lamps

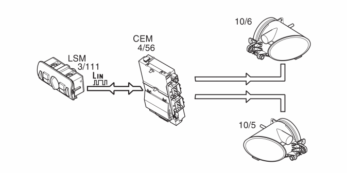
Fig 1: Identifying Front Fog Lamps
GLL154708Courtesy of VOLVO CARS CORPORATION

The front fog lights (10/5-6) are activated by pushing the front fog light button in the light switch module (LSM) (3/111).

The central electronic module (CEM) (4/56) receives a request to turn on the front fog lights from the light switch module (LSM) via LIN communication.

The lights are supplied power via an internal relay on the central electronic module (CEM).