LEMON Manuals: Even more car manuals for everyone: 1960-2025
Home >> Volvo >> 2011 >> S40 T-5 R-Design >> Repair and Diagnosis >> Electrical >> Charging Systems >> Electrical Components - Design And Function (544 Body) >> Climate Control Module (CCM) (2004-2011) >> Function >> Activating BLIS (2007-)
April 5, 2026: LEMON Manuals is launched! Read the announcement.

Activating BLIS (2007-)

Fig 1: Identifying Blind Spot Warning BLIS (2007-)
GLL156402Courtesy of VOLVO CARS OF NORTH AMERICA.

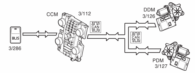
The function for "blind spot" warning (BLIS) is activated using the switch (3/286) located in the tunnel console.

The ignition key must be in position II and the engine running for the climate control module (CCM) (3/112) to accept activation of this function.

When activating BLIS, the Climate control module (CCM) transmits a signal, about the selected status via the CAN network to the Driver door module (DDM) / Passenger door module (PDM).

The Driver door module (DDM) / Passenger door module (PDM) then transmit a signal to the Climate control module (CCM) about whether the BLIS function is on or off.

The Climate control module (CCM) uses the information to light and extinguish the LED on the switch.