LEMON Manuals: Even more car manuals for everyone: 1960-2025
Home >> Volvo >> 2011 >> XC60 3.2 R-Design >> Repair and Diagnosis (Single Page) >> Accessories & Equipment >> Drivers Assistance Systems - ADAS >> Media, Communication And Navigation - Design And Function >> Television Module >> Television Module (TVM) [2011-2017] >> System Overview >> Signals
April 5, 2026: LEMON Manuals is launched! Read the announcement.

System Overview: Signals

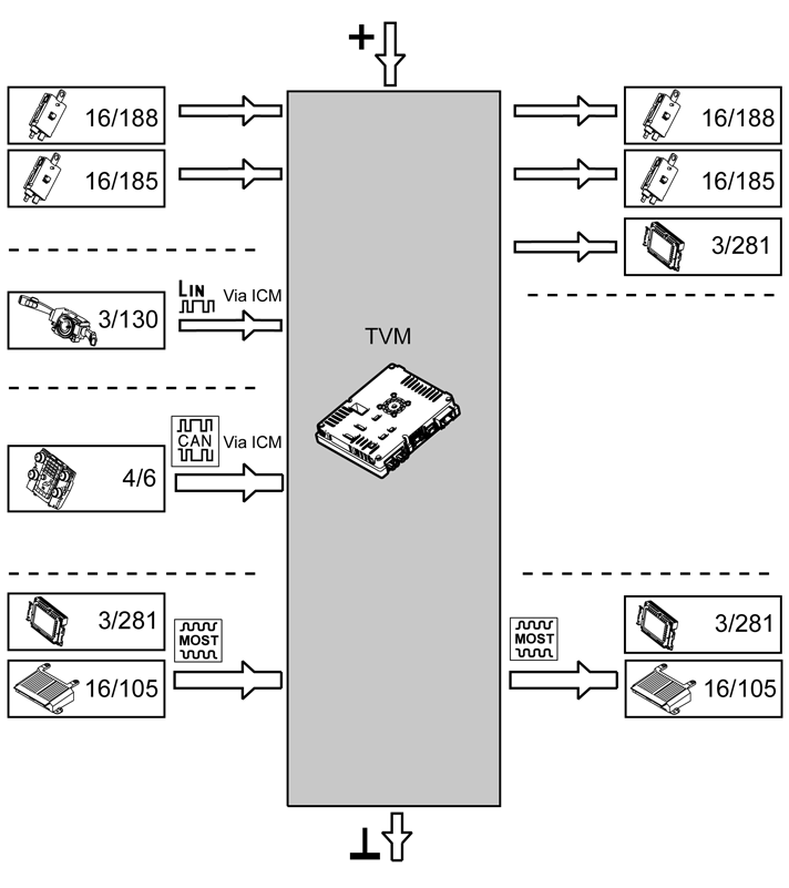
The table below summarizes the input and output signals to and from the Television Module (TVM). Signal type is divided into directly connected signals, MOST communication and indirectly connected signals, CAN and LIN communication. The image below shows the same information, as well as Volvo's component designation.

Input signals Output signals
Directly connected:  Directly connected: 
  • Antenna amplifier 4 television (16/188)
  • Antenna amplifier 1 television (16/185)
  • Phantom supply antenna amplifier 4 television (16/188)
  • Phantom supply antenna amplifier 1 television (16/185)
  • Infotainment control module (ICM) (3/281) Composite video signal (CVBS)
LIN communication (Via ICM):   
  • Steering wheel module (SWM) (3/130)
 
CAN communication (Via ICM):   
  • Climate control module (CCM) (4/6)
 
Via MOST communication:  Via MOST communication: 
  • Infotainment control module (ICM) (3/281)
  • Audio module (AUD) (16/105)
  • Infotainment control module (ICM) (3/281)
  • Audio module (AUD) (16/105)
GLL1029517Courtesy of VOLVO CARS CORPORATION