LEMON Manuals: Even more car manuals for everyone: 1960-2025
Home >> Volvo >> 2012 >> XC90 Base, AWD >> Repair and Diagnosis >> Accessories & Equipment >> Entertainment Systems >> Control Modules - Signal Specifications >> Signal Description, Audio Module (AUD) (2007-2014) >> Signal Specification
April 5, 2026: LEMON Manuals is launched! Read the announcement.

Signal Specification

U= DC voltage in volts (V) UAC = AC voltage in volts (V)
Ubat = Battery voltage (V) f = Frequency in Hertz (Hz)
Ulow = Voltage approximately 0 V t = Time in seconds
PWM = Pulse width modulated signal as a % - -
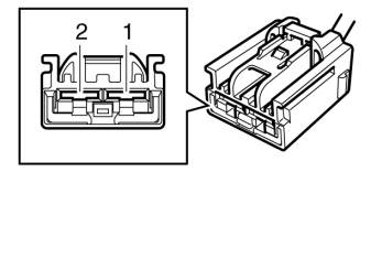
Fig 1: Identifying Connector C442
GLL154727Courtesy of VOLVO CARS CORPORATION
CONNECTOR A

Breakout box terminal  Control module terminal  Signal type  Ignition on  Other 
- #1 30-feed Ubat -
- #2 Ground Ulow -
Fig 2: Identifying Connector C977
GLL154729Courtesy of VOLVO CARS CORPORATION
CONNECTOR B

Breakout box terminal  Control module terminal  Signal type  Ignition on  Other 
#1 #1 Speaker left front door (-) Analog output signal when the speaker is in use 0 - 19 V depending on control module output.
#2 #2 Center speaker (-) Analog output signal when the speaker is in use 0 - 11 V depending on control module output.
#3 #3 Speaker right front door (-) Analog output signal when the speaker is in use 0 - 19 V depending on control module output.
#4 #4 Speaker left rear door (-) Analog output signal when the speaker is in use 0 - 19 V depending on control module output.
#5 #5 Speaker right rear door (-) Analog output signal when the speaker is in use 0 - 19 V depending on control module output.
- #6 Activation signal U = Ubat U=Ubat , the control module is activated U=Ulow control module not activated
- #7 - - -
- #8 Microphone, signal ground U = Ulow -
#9 #9 Speaker left front door (+) Analog output signal when the speaker is in use 0 - 19 V depending on control module output.
#10 #10 Center speaker (+) Analog output signal when the speaker is in use 0 - 11 V depending on control module output.
#11 #11 Speaker right front door (+) Analog output signal when the speaker is in use 0 - 19 V depending on control module output.
#12 #12 Speaker left rear door (+) Analog output signal when the speaker is in use 0 - 19 V depending on control module output.
#13 #13 Speaker right rear door (+) Analog output signal when the speaker is in use 0 - 19 V depending on control module output.
- #14 - - -
- #15 - - -
- #16 Microphone, signal (+) Analog input signal when the microphone is in use -
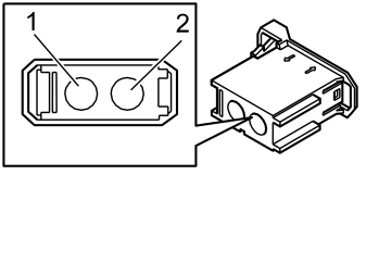
Fig 3: Identifying Connector Terminals
GLL104035Courtesy of VOLVO CARS CORPORATION
NOTE: The connector is only on cars with headset panels.
CONNECTOR C

Breakout box terminal  Control module terminal  Signal type  Ignition on  Other 
#1 #1 Headphones 1, left headphone Analog output signal when the headphones are in use -
#2 #2 Headphones 1, right headphone Analog output signal when the headphones are in use -
#3 #3 Headphones 2, left headphone Analog output signal when the headphones are in use -
#4 #4 Headphones 2, right headphone Analog output signal when the headphones are in use -
- #5 - - -
- #6 - - -
#7 #7 Headphones 3, left headphone Analog output signal when the headphones are in use -
#8 #8 Headphones 3, right headphone Analog output signal when the headphones are in use -
#9 #9 Headphones 4, left headphone Analog output signal when the headphones are in use -
#10 #10 Headphones 4, right headphone Analog output signal when the headphones are in use -
- #11 - - -
- #12 - - -
#13 #13 Headphones 1, signal ground U = Ulow -
#14 #14 Headphones 2, signal ground U = Ulow -
#15 #15 Headphones 1 and 2, signal ground buttons U = Ulow -
#16 #16 Headphones 1, control signal buttons Analog input signal when buttons for track selection and source are used U = 5.0 V (no headphone panel connected)
U = 4.02 V (no button activated)
U = 3.16 V (previous track)
U = 2.37 V (next track)
U = 0.9 V (select source)
#17 #17 Headphones 2, control signal buttons Analog input signal when buttons for track selection and source are used U = 5.0 V (no headphone panel connected)
U = 4.02 V (no button activated)
U = 3.16 V (previous track)
U = 2.37 V (next track)
U = 0.9 V (select source)
#18 #18 Headphones 3, signal ground U = Ulow -
#19 #19 Headphones 4, signal ground U = Ulow -
#20 #20 Headphones 3 and 4, signal ground buttons U = Ulow -
#21 #21 Headphones 3, control signal buttons Analog input signal when buttons for track selection and source are used U = 5.0 V (no headphone panel connected)
U = 4.02 V (no button activated)
U = 3.16 V (previous track)
U = 2.37 V (next track)
U = 0.9 V (select source)
#22 #22 Headphones 4, control signal buttons Analog input signal when buttons for track selection and source are used U = 5.0 V (no headphone panel connected)
U = 4.02 V (no button activated)
U = 3.16 V (previous track)
U = 2.37 V (next track)
U = 0.9 V (select source)
Fig 4: Identifying Connector MOST (Optical Signal)
GLL153820Courtesy of VOLVO CARS CORPORATION
CONNECTOR D

Breakout box terminal  Control module terminal  Signal type  Ignition on  Other 
- #1 MOST input signal - Optical input signal when the MOST network is activated
- #2 MOST output signal - Optical output signal when the MOST network is activated