LEMON Manuals: Even more car manuals for everyone: 1960-2025
Home >> Volvo >> 2012 >> XC90 Base, AWD >> Repair and Diagnosis >> Accessories & Equipment >> Entertainment Systems >> Control Modules - Signal Specifications >> Signal Description, Multimedia Module (Mmm) (2003-06) >> Signal Specification
April 5, 2026: LEMON Manuals is launched! Read the announcement.

Signal Specification

All the values given below are between the respective terminal in column 1 and terminal #A5 in column 2 (power ground) unless otherwise stated in brackets after the table entry.

NOTE: It is important to connect the breakout box and check the ground terminals before taking readings.
U= DC voltage in volts (V) Ulow = Voltage approximately 0 V
Ubat = Battery voltage (V) - -
Fig 1: 10-CD Changer Connector Terminals
GLL104029Courtesy of VOLVO CARS CORPORATION
CONNECTOR A

Terminal  Breakout box terminal  Signal type  Ignition on  Other 
#A1 #21 15 supply U = Ubat Powered (12 V) from the relay on the central electronic module (CEM)
#A2 #22 - - -
#A3 #23 - - -
#A4 #24 - - -
#A5 #25 Ground U=Ulow -
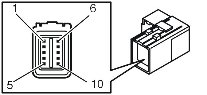
Fig 2: Identifying RTI Control Module (To Display) Connector Terminals
GLL106209Courtesy of VOLVO CARS CORPORATION
CONNECTOR B

Terminal  Breakout box terminal  Signal type  Ignition on  Other 
#B1 #1 Color signal (red), screen Analog signal when a red color signal is used 0.714 Vp-p
#B2 #2 Color signal (green), display Analog signal when a green color signal is used 0.714 Vp-p
#B3 #3 - - -
#B4 #4 Serial bus to the display Digital signal Half duplex, start-stop synchronizer, 2400 bps
#B5 #5 - Digital signal 38 kHz carrier wave when the remote control is pressed
#B6 #6 Color signal (blue), screen Analog signal when a green color signal is used 0.714 Vp-p
#B7 #7 Screen ground video signals U low -
#B8 #8 Composite sync, display screen Analog signal 0-5 V
#B9 #9 - - -
#B10 #10 Video signal, display screen Analog signal 1 Vp-p ± 0.2V
H - Screen ground - -
Fig 3: Identifying Connector C
GLL108086Courtesy of VOLVO CARS CORPORATION
CONNECTOR C

Terminal  Breakout box terminal  Signal type  Ignition on  Other 
#C1 - MOST input signal - Optical input signal
#C2 - MOST output signal - Optical output signal