LEMON Manuals: Even more car manuals for everyone: 1960-2025
Home >> Volvo >> 2012 >> XC90 Base, AWD >> Repair and Diagnosis >> Accessories & Equipment >> Entertainment Systems >> Control Modules - Signal Specifications >> Signal Specification, Audio Module (AUM) (2003-06) >> Signal Specification
April 5, 2026: LEMON Manuals is launched! Read the announcement.

Signal Specification

All the values given below are between the respective terminal in column 1 and terminal #A2 in column 2 (power ground) unless otherwise stated in brackets after the table entry.

NOTE: It is important to connect the breakout box and check the ground terminals before taking readings.
U= DC voltage in volts (V) Ulow = Voltage approximately 0 V
Ubat = Battery voltage (V) - -
Fig 1: Connector, Black (2-Pin)
GLL104016Courtesy of VOLVO CARS CORPORATION
CONNECTOR A

Terminal  Breakout box terminal  Signal type  Ignition on  Other 
#A1 #45 30 supply U = Ubat -
#A2 #46 Ground U = Ulow -
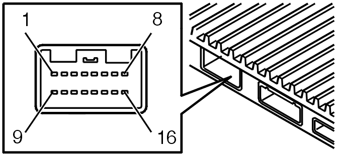
Fig 2: Identifying Connector B
GLL101917Courtesy of VOLVO CARS CORPORATION
CONNECTOR B

Terminal  Breakout box terminal  Signal type  Ignition on  Other 
#B1 #1 Loudspeaker left front door (-) Analog output signal when the loudspeaker is in use 0 - 19 V depending on the output from the control module.
Loudspeaker impedance: Base performance = 4 Ω High performance = 2 Ω Premium sound = 4 Ω Treble loudspeaker = 8 Ω
#B2 #2 Center loudspeaker (-) Analog output signal when the loudspeaker is in use 0 - 11 V depending on the output from the control module.
Loudspeaker impedance: Premium sound with Multimedia Module (MMM) display screen = 6 Ω Premium sound without Multimedia Module (MMM) display screen = 8 Ω
#B3 #3 Loudspeaker right front door (-) Analog output signal when the loudspeaker is in use 0 - 19 V depending on the output from the control module.
Loudspeaker impedance: Base performance = 4 Ω High performance = 2 Ω Premium sound = 4 Ω Treble loudspeaker = 8 Ω
#B4 #4 Loudspeaker left rear door (-) Analog output signal when the loudspeaker is in use 0 - 19 V depending on the output from the control module
Loudspeaker impedance: Base performance = 4 Ω High performance = 2 Ω Premium sound = 6 Ω D-post treble loudspeaker = 8 Ω
#B5 #5 Loudspeaker right rear door (-) Analog output signal when the loudspeaker is in use 0 - 19 V depending on the output from the control module.
Loudspeaker impedance: Base performance = 4 Ω High performance = 2 Ω Premium sound = 6 Ω D-post treble loudspeaker = 8 Ω
#B6 #6 15 supply, activation signal for the control module U = Ubat U=Ubat , the control module is activated U=Ulow the control module is not activated
#B7 #7 - - -
#B8 #8 Signal ground, microphone U=Ulow -
#B9 #9 Loudspeaker left front door (+) Analog output signal when the loudspeaker is in use 0 - 19 V depending on the output from the control module.
Loudspeaker impedance: Base performance = 4 Ω High performance = 2 Ω Premium sound = 4 Ω Treble loudspeaker = 8 Ω
#B10 #10 Center loudspeaker (+) Analog output signal when the loudspeaker is in use 0 - 11 V depending on the output from the control module.
Loudspeaker impedance: Premium sound with Multimedia Module (MMM) display screen = 6 Ω Premium sound without Multimedia Module (MMM) display screen = 8 Ω
#B11 #11 Loudspeaker right front door (+) Analog output signal when the loudspeaker is in use 0 - 19 V depending on the output from the control module.
Loudspeaker impedance: Base performance = 4 Ω High performance = 2 Ω Premium sound = 4 Ω Treble loudspeaker = 8 Ω
#B12 #12 Loudspeaker left rear door (+) Analog output signal when the loudspeaker is in use 0 - 19 V depending on the output from the control module. Loudspeaker impedance: Base performance = 4 Ω High performance = 2 Ω Premium sound = 6 Ω D-post treble loudspeaker = 8 Ω
#B13 #13 Loudspeaker right rear door (+) Analog output signal when the loudspeaker is in use 0 - 19 V depending on the output from the control module.
Loudspeaker impedance: Base performance = 4 Ω High performance = 2 Ω Premium sound = 6 Ω D-post treble loudspeaker = 8 Ω
#B14 #14 - - -
#B15 #15 - - -
#B16 #16 Microphone signal Analog input signal when the microphone is in use -
Fig 3: Identifying Connector (F) Terminals
GLL104034Courtesy of VOLVO CARS CORPORATION
CONNECTOR C

Terminal  Breakout box terminal  Signal type  Ignition on  Other 
#C1 #1 Headset 1, left-hand headset Analog output signal when the headset is in use -
#C2 #2 Headset 1, right-hand headset Analog output signal when the headset is in use -
#C3 #3 Headset 2, left-hand headset Analog output signal when the headset is in use -
#C4 #4 Headset 2, right-hand headset Analog output signal when the headset is in use -
#C5 #5 - - -
#C6 #6 - - -
#C7 #7 Headset 3, left-hand headset Analog output signal when the headset is in use -
#C8 #8 Headset 3, right-hand headset Analog output signal when the headset is in use -
#C9 #9 Headset 4, left-hand headset Analog output signal when the headset is in use -
#C10 #10 Headset 4, right-hand headset Analog output signal when the headset is in use -
#C11 #11 - - -
#C12 #12 - - -
#C13 #13 Headset 1. ground signal U=Ulow -
#C14 #14 Headset 2. ground signal U=Ulow -
#C15 #15 Headset 1 and 2, signal ground U=Ulow -
#C16 #16 Headset 1, control signal buttons Analog input signal when the buttons for selecting track and sound source are in use The voltage varies between 5 - 0.9 V depending on which button is pressed in
#C17 #17 Headset 2, control signal buttons Analog input signal when the buttons for selecting track and sound source are in use The voltage varies between 5 - 0.9 V depending on which button is pressed in
#C18 #18 Headset 3, signal ground U=Ulow -
#C19 #19 Headset 4, signal ground U=Ulow -
#C20 #20 Headset 3 and 4, signal ground, buttons U=Ulow -
#C21 #21 Headset 3, control signal buttons Analog input signal when the buttons for selecting track and sound source are in use The voltage varies between 5 - 0.9 V depending on which button is pressed in
#C22 #22 Headset 4, control signal buttons Analog input signal when the buttons for selecting track and sound source are in use The voltage varies between 5 - 0.9 V depending on which button is pressed in
Fig 4: Identifying Connector D
GLL101916Courtesy of VOLVO CARS CORPORATION
CONNECTOR D

Terminal  Breakout box terminal  Signal type  Ignition on  Other 
#D1 - MOST input signal - Optical input signal when the MOST network is activated
#D2 - MOST output signal - Optical output signal when the MOST network is activated