LEMON Manuals: Even more car manuals for everyone: 1960-2025
Home >> Volvo >> 2012 >> XC90 Base, FWD >> Repair and Diagnosis >> Electrical >> Body Electrical >> Control Module - Signal Specifications >> Signal Specification, Rear Electronic Module (Rem) (2005-2014) >> Signal Specification
April 5, 2026: LEMON Manuals is launched! Read the announcement.

Signal Specification

All the values given below are between the terminals stated in column 1 and terminal #D12 in column 2 (power ground). This applies unless otherwise indicated in the last column.

NOTE: It is important to connect the breakout box and check the ground connections before starting to measure.
Fig 1: Identifying Rear Electronic Module (REM) Connectors
GLL150241Courtesy of VOLVO CARS CORPORATION
U= DC voltage in volts (V) t = Time in milliseconds (ms)
Ubat = Battery voltage (V) f = Frequency in Hertz (Hz)
Ulow = Voltage approximately 0 V % duty Duty cycle (pulse ratio) as a percentage (%)
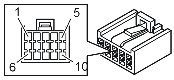
Fig 2: Identifying Connector A
GLL146490Courtesy of VOLVO CARS CORPORATION
Connector A
Breakout box terminal  Control module terminal  Signal type  Ignition off 
Active/Not active
Ignition on 
Active/Not active
Miscellaneous 
#1 #A1 Power window left rear door, up Ubat /Ulow Ubat /Ulow Supplied with voltage via fuse and relay and grounded via relay integrates in Rear electronic module (REM).
#2 #A2 Power window left rear door, down Ubat /Ulow Ubat /Ulow Supplied with voltage via fuse and relay and grounded via relay integrates in Rear electronic module (REM).
#3 #A3 Reserve - - -
#4 #A4 Reserve - - -
#5 #A5 Reserve - - -
#6 #A6 Reserve - - -
#7 #A7 High level stop lamp Ubat /Ulow Ubat /Ulow S60, S80
#8 #A8 Reserve - - -
#9 #A9 Reserve - - -
#10 #A10 Reserve - - -
#11 #A11 Reserve - - -
#12 #A12 Reserve - - -
#13 #A13 Power supply Bi Fuel from the central electronic module (CEM) Ulow Ubat (Ignition positions II and III), otherwise Ulow -
#14 #A14 15-power supply differential electronic module (DEM) Ulow Ubat (Ignition position II); Ubat (Ignition position I and III) if the key has been in ignition position II earlier, otherwise Ulow in ignition positions I and III -
#15 #A15 Defroster rear windshield Ulow Ubat /Ulow S60, S80
#16 #A16 Defroster rear windshield Ulow Ulow S60, S80
#17 #A17 Reserve - - -
#18 #A18 Stop lamp, input signal from the central electronic module (CEM) Ubat /Ulow Ubat /Ulow -
#19 #A19 Child-proof lock left rear door Ulow /Ubat Ulow /Ubat Supplied with voltage via fuse and relay and grounded via relay integrates in Rear electronic module (REM).
#20 #A20 Right-hand turn signal lamp, input signal from the central electronic module (CEM) Ulow Ubat /Ulow Pulsed signal, f = ca. 1.5 Hz
#21 #A21 Left-hand turn signal lamp, input signal from the central electronic module (CEM) Ulow Ubat /Ulow Pulsed signal, f = ca. 1.5 Hz
#22 #A22 Reserve - - -
#23 #A23 Lock motor left rear door, lock signal Ubat /Ulow Ubat /Ulow -
#24 #A24 Lock motor left rear door, unlock signal Ubat /Ulow Ubat /Ulow -
#25 #A25 Folding head restraints, left Ulow Ubat /Ulow S60, S80
#26 #A26 Reserve - - -
#27 #A27 Lock motor double lock left rear door, signal Ubat /Ulow Ubat /Ulow -
#28 #A28 Reserve - - -
#29 #A29 15-power supply Ulow Ubat (Ignition position II), otherwise Ulow -
#30 #A30 15-power supply to the suspension module (SUM) Ulow Ubat (Ignition switch position II) -
#31 #A31 Reserve - - -
#32 #A32 Ground Ulow Ulow -
Fig 3: Identifying Connector B
GLL146491Courtesy of VOLVO CARS CORPORATION
Connector B
Breakout box terminal  Control module terminal  Signal type  Ignition off 
Active/Not active
Ignition on 
Active/Not active
Miscellaneous 
#1 #B1 Power window right rear door, up Ubat /Ulow Ubat /Ulow Supplied with voltage via fuse and relay and grounded via relay integrates in Rear electronic module (REM).
#2 #B2 Power window right rear door, down Ubat /Ulow Ubat /Ulow Supplied with voltage via fuse and relay and grounded via relay integrates in Rear electronic module (REM).
#3 #B3 Brake light Ubat /Ulow Ubat /Ulow -
#4 #B4 Rear fog lamp Ulow Ubat /Ulow -
#5 #B5 Reserve - - -
#6 #B6 Reserve - - -
#7 #B7 Back-up (reversing) lamps Ulow Ubat /Ulow -
#8 #B8 Reserve - - -
#9 #B9 Lock motor fuel tank filler cap, unlock signal Ubat /Ulow Ubat /Ulow -
#10 #B10 Right turn signal lamp Ulow Ubat /Ulow Pulsed signal, f = ca. 1.5 Hz
#11 #B11 Left turn signal lamp Ulow Ubat /Ulow Pulsed signal, f = ca. 1.5 Hz
#12 #B12 Lock motor right rear door, unlock signal Ubat /Ulow Ubat /Ulow -
#13 #B13 Reserve - - -
#14 #B14 Reserve - - -
#16 #B16 Reserve - - -
#17 #B17 Subwoofer power supply Ubat Ubat XC90
#18 #B18 Subwoofer power supply Ubat Ubat XC90
#19 #B19 Power supply infotainment, rear A/C Ulow Ubat -
#20 #B20 Reserve - - -
#21 #B21 Power supply, parking assistance module (PAM) Ulow Ubat -
#22 #B22 Power supply accessory electronic module (AEM) Ubat Ubat -
#23 #B23 Right-hand back-up lamp Ulow Ubat /Ulow -
#24 #B24 Lock motor double lock right rear door, signal Ubat /Ulow Ubat /Ulow -
#25 #B25 Gas tank valve, power supply Ulow Ubat /Ulow -
#26 #B26 Lock motor fuel tank filler cap/right rear door, lock signal Ubat /Ulow Ubat /Ulow -
#27 #B27 Power supply RTI, CD changer Ubat Ubat -
#28 #B28 Folding head restraints, right Ulow Ubat /Ulow S60, S80
#29 #B29 X-power supply Ulow Ubat (Ignition positions I and II), otherwise Ulow -
#30 #B30 Child-proof lock right Ubat Ulow / Ubat Supplied with voltage via fuse and relay and grounded via relay integrates in Rear electronic module (REM).
#31 #B31 Rear 12 V output, power supply Ubat Ubat -
#32 #B32 Reserve - - -
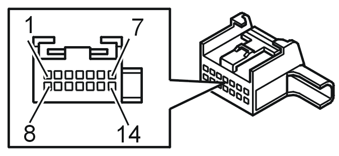
Fig 4: Identifying Connector C Terminals
GLL146494Courtesy of VOLVO CARS CORPORATION
Connector C
Breakout box terminal  Control module terminal  Signal type  Ignition off 
Active/Not active
Ignition on 
Active/Not active
Miscellaneous 
#41 #C1 Alarm LED U = approximately 1.6V/ Ulow Ulow Pulsed signal, f = approximately 0.5Hz
#42 #C2 Reserve - - -
#43 #C3 Switch left-hand rear door, signal Ulow Ulow Grounded with door closed, open-circuit with door open
#44 #C4 Hood switch Ulow Ulow Grounded with door closed, open-circuit with door open
#45 #C5 Lock switch left-hand rear door, signal Ubat if door unlocked; U low if door locked Ubat if door unlocked; U low if door locked -
#46 #C6 Gas discharge lamp module (GDL) sensor - - -
#47 #C7 LIN communication During communication the voltage is 0 V - Ubat During communication the voltage is 0 V - Ubat -
#48 #C8 Glass breakage loop, pulsed signal 0-12 V Ulow -
#49 #C9 Signal ground, position sensor for headlamp beam height control Ulow Ulow -
#50 #C10 Lock switch child proof lock left-hand rear door, signal Ulow /Ubat Ulow /Ubat -
#51 #C11 Power supply, position sensor for headlamp beam height control U = 5 V U = 5 V -
#52 #C12 Switch left-hand front door, signal Ulow Ulow Grounded with door closed, open-circuit with door open
#53 #C13 Communication CAN L low speed network During communication the voltage is 1.5 - 2.5 V During communication the voltage is 1.5 - 2.5 V -
#54 #C14 Communication CAN_H low speed network During communication the voltage is 2.0 - 3.5 V During communication the voltage is 2.0 - 3.5 V -
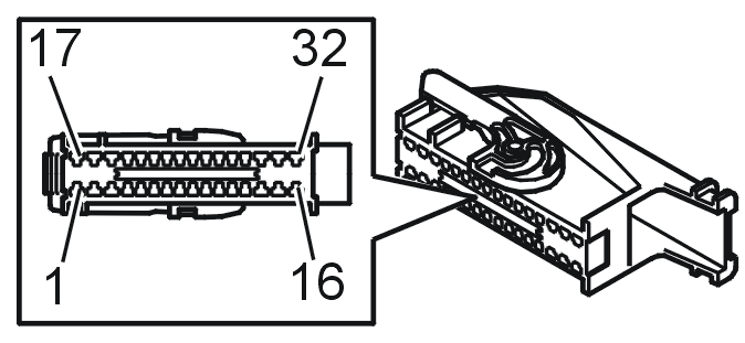
Fig 5: Identifying Connector C
GLL146493Courtesy of VOLVO CARS CORPORATION
Connector D
Breakout box terminal  Control module terminal  Signal type  Ignition off 
Active/Not active
Ignition on 
Active/Not active
Miscellaneous 
#1 #D1 Parking lamps Ubat /Ulow Ubat /Ulow (Ignition position I); Ubat (Ignition position II) -
#2 #D2 Cargo compartment lighting Ulow /Ubat Ulow /Ubat -
#3 #D3 LPG sensor, ground Ulow Ulow -
#4 #D4 Lock switch child proof lock right-hand rear door, signal Ulow /Ubat Ulow /Ubat -
#5 #D5 Rear right parking lamp Ubat /Ulow Ubat /Ulow (Ignition position I); Ubat (Ignition position II) -
#6 #D6 Parking lamps left-hand rear Ubat /Ulow Ubat /Ulow (Ignition position I); Ubat (Ignition position II) -
#7 #D7 X-power supply to subwoofer module (SUB) U= 10.3 V Ulow -
#8 #D8 Signal ground fuel level sensor, CNG Ulow Ulow -
#9 #D9 Reserve - - -
#10 #D10 Reserve - - -
#11 #D11 Cargo compartment lighting Ubat /Ulow Ubat /Ulow S60, S80
#12 #D12 Ground Ulow Ulow -
#13 #D13 Reserve - - -
#14 #D14 Power supply, fuel level sensor, CNG Ulow U ~ 5 V -
#15 #D15 Input signal fuel level sensor (pressure), CNG Ulow U=0.5 V- 4.5 V Full (200 bar): 4.5 V
Empty (0 bar): 0.5 V
#16 #D16 Reserve - - -
#17 #D17 Serial communication (LIN) During communication the voltage is 0 V - Ubat -
#18 #D18 Brake light Ubat /Ulow Ubat /Ulow S80
#19 #D19 Communication CAN_L low speed network, accessory electronic module (AEM) During communication the voltage is 1.5 - 2.5 V During communication the voltage is 1.5 - 2.5 V -
#20 #D20 Communication CAN_L low speed network, road traffic information module (RTI) During communication the voltage is 1.5 - 2.5 V During communication the voltage is 1.5 - 2.5 V -
#21 #D21 Communication CAN_H low speed network, road traffic information module (RTI) During communication the voltage is 2.0 - 3.5 V During communication the voltage is 2.0 - 3.5 V -
#22 #D22 Reserve - - -
#23 #D23 Reserve - - -
#24 #D24 Reserve - - -
#25 #D25 Reserve - - -
#26 #D26 Serial communication (LIN), inclination sensor module (ISM)
From and including structure week 201128 the following applies: Serial communication (LIN) alarm siren control module with alternatively without angle sensor (BBS/IBBS)
During communication the voltage is 0 V - Ubat During communication the voltage is 0 V - Ubat Communicates when the car is alarmed. Conditional on the car being equipped with an inclination sensor module (ISM).
From and including structure week 201128 the following applies: Communicates when the car is alarmed.
#27 #D27 Input signal, fuel level sensor (temperature), CNG Ulow U=0.5 V - 5 V 0°C ~ 4 V 25°C ~ 2.5 V
#28 #D28 Lock switch right-hand rear door, signal Ubat if door unlocked; U low if door locked Ubat if door unlocked; U low if door locked -
#29 #D29 Switch right-hand front door, signal Ulow Ulow Pin to ground with door closed, open-circuit with door open
#30 #D30 Communication CAN_H low speed network, accessory electronic module (AEM) The voltage is 2.0-3.5 V during communication During communication the voltage is 2.0 - 3.5 V -
#31 #D31 Power supply inclination sensor module (ISM), output signal.
From and including structure week 201128 terminal #31 is reserve.
U ~ Ulow /Ubat
From and including structure week 201128 terminal #31 is reserve.
U ~ Ulow
From and including structure week 201128 terminal #31 is reserve.
Supplied with voltage when the car is alarmed. Conditional on the car being equipped with an inclination sensor module (ISM).
From and including structure week 201128 terminal #31 is reserve.
#32 #D32 Serial communication (LIN) During communication the voltage is 0 V - Ubat During communication the voltage is 0 V - Ubat -
#33 #D33 Switch right-hand rear door, signal Ulow Ulow Pin to ground with door closed, open-circuit with door open
#34 #D34 Rear seat entertainment, power supply Ulow Ubat -
#35 #D35 Serial communication (LIN) During communication the voltage is 0 V - Ubat During communication the voltage is 0 V - Ubat -
#36 #D36 LPG sensor Ulow U ~ 5 V -
Fig 6: Identifying Connector E Terminals
GLL146503Courtesy of VOLVO CARS CORPORATION
Connector E
- Control module terminal  Signal type  Ignition off 
Active/Not active
Ignition on 
Active/Not active
Miscellaneous 
- #A 15-power supply, trailer module (TRM) Ulow Ubat /Ulow -
- #B Stop lamps, trailer module (TRM) - - -
- #C Turn signal lamp right input signal, trailer module (TRM) - - -
- #D Turn signal lamp left input signal, trailer module (TRM) - - -
- #E Fog lamps, trailer module (TRM) - - -
- #F 30-power supply, trailer module (TRM) Ubat Ubat -
- #G Power supply, trailer module (TRM) Ubat Ubat -
- #H Parking lamps, trailer module (TRM) Ubat /Ulow Ubat -
- #I Turn signal lamp right, trailer module (TRM) Ubat /Ulow Ubat /Ulow Pulsed signal, f = ca. 1.5 Hz
Hazard warning signal flasher
- #J Turn signal lamp left, trailer module (TRM) Ubat /Ulow Ubat /Ulow Pulsed signal, f = ca. 1.5 Hz
Hazard warning signal flasher
- #K Back-up (reversing) lamps, trailer module (TRM) Ulow Ubat /Ulow -
- #L 30-power supply, trailer module (TRM) Ubat Ubat -
Fig 7: Identifying Connector F Terminals
GLL146488Courtesy of VOLVO CARS CORPORATION
Connector F
Breakout box terminal  Control module terminal  Signal type  Ignition off 
Active/Not active
Ignition on 
Active/Not active
Miscellaneous 
#41 #F1 Rear windshield wiper, power supply Ulow Ubat /Ulow -
#42 #F2 Lock switch tailgate/trunk lid, signal Ulow Ulow Pin to ground with tailgate closed, open-circuit with tailgate open
#43 #F3 Switch tailgate handle, signal - - S60, S80
#44 #F4 High level stop lamp Ubat /Ulow Ubat /Ulow XC90
The resistance must be around 10 kΩ with the ignition off, not active.
#45 #F5 Ground, luggage compartment lighting and lock motor tailgate. Ulow Ulow -
#46 #F6 Rear windshield wiper, power supply Ulow Ubat (Ignition positions I and II), otherwise Ulow -
#47 #F7 Cargo compartment lighting Ulow /Ubat Ulow /Ubat XC90
#48 #F8 Lock motor trunk lid/tailgate, unlock signal Ubat /Ulow Ulow -
#49 #F9 Lock motor trunk lid/tailgate, lock signal Ubat /Ulow Ulow Only XC90.
#50 #F10 License plate lighting Ubat /Ulow Ubat / Ulow -
Fig 8: Identifying Connector G Terminals
GLL146489Courtesy of VOLVO CARS CORPORATION
Connector G
- Control module terminal  Signal type  Ignition off 
Active/Not active
Ignition on 
Active/Not active
Miscellaneous 
- #G1 Heated rear windshield Ulow Ubat /Ulow XC90
- #G2 Heated rear windshield Ulow Ubat /Ulow XC90
- #G3 Reserve - - -
- #G4 Reserve - - -
- #G5 Reserve - - -