LEMON Manuals: Even more car manuals for everyone: 1960-2025
Home >> Volvo >> 2012 >> XC90 Base, FWD >> Repair and Diagnosis >> Engine Performance >> System >> Electronic Modules - Design And Function >> Climate Control Module (CCM) (2005-2014) >> Function >> Regulating Seat Heat
April 5, 2026: LEMON Manuals is launched! Read the announcement.

Regulating Seat Heat

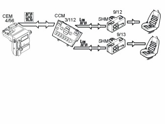
Fig 1: Identifying Seat Heat Regulation System & Components
GLL146621Courtesy of VOLVO CARS CORPORATION

The seat heaters are activated using the switches on the climate control module (CCM) (3/112). The function is normally switched off. When activating the seat heaters, the first position is high temperature. If the button is pressed again, the temperature will be low. The status of the indication is displayed via LEDs. The climate control module (CCM) transmits information about the selected temperature to the relevant seat heating module (SHM) on the relevant LIN bus. The seat heating module (SHM) then controls the current to the heater pads.

Each seat heating module (SHM) then transmits its present status to the climate control module (CCM).

Communication between the climate control module (CCM) and each seat heating module (SHM) takes place in the following way:

The climate control module (CCM) receives information from the central electronic module (CEM) (4/56) about the type of seat and upholstery via the controller area network (CAN). The levels for high and low temperature are adapted for the relevant seat and upholstery by the climate control module (CCM). To a certain extent, the levels for high and low temperature can be adapted to the wishes of the customer using VIDA (Volvo scan tool).