LEMON Manuals: Even more car manuals for everyone: 1960-2025
Home >> Volvo >> 2016 >> S80 T5 >> Repair and Diagnosis >> General Information >> OEM General Information >> Administration >> Component Specification Supplementary Information, Engine Control Module (ECM) >> Engine Speed Sensor, Crankshaft >> General
April 5, 2026: LEMON Manuals is launched! Read the announcement.

Engine Speed Sensor, Crankshaft: General

GLL139678Courtesy of VOLVO CARS CORPORATION

Type 

Inductive sensor with permanent magnet. Output voltage is proportional to the magnet flow's change through the sensor. Higher RPM = higher voltage.

Characteristic 

Output voltage 5 - 16V at 650 RPM.

Output voltage ≥ 100V at 7000 RPM.

Other information 

Certain markets only.

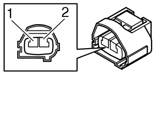
TERMINAL 

Connector terminal Control module terminal Signal type Other
#1 #A6 Signal - Sinus voltage. Voltage increases with increasing RPM.
#2 #A30 Signal + Sinus voltage. Voltage increases with increasing RPM.
GLL139894Courtesy of VOLVO CARS CORPORATION

CHECK 

Prerequisites (unless otherwise specified):

GLL159811Courtesy of VOLVO CARS CORPORATION

Check 1 

Engine RPM sensor:

Measure alternating voltage between #A6 and #A30. The value should be:

U≈ 5 - 16V at idle (650 RPM).

U ≥ 100V at 7000 RPM.

NOTE:

The voltage reaches its highest value immediately after the gap in the flywheel. 

NOTE:

The control module interprets that the curve is symmetric. No check of voltage level. 

Check 2 

Engine RPM sensor:

Measure resistance between #A6 and #A30. The value should be:

125.5Ω ± 17Ω at +20 °C.