LEMON Manuals: Even more car manuals for everyone: 1960-2025
Home >> Chrysler >> 2001 >> Sebring LXi, 2D Convertible >> Repair and Diagnosis >> Body & Frame >> Body, Cab Control Systems >> Body Control Modules - Except Coupe >> System Tests >> Communications >> No Response From Controller Anti-Lock Brake Module
April 5, 2026: LEMON Manuals is launched! Read the announcement.

No Response From Controller Anti-Lock Brake Module

NOTE: After making any repairs, perform ABS VERIFICATION TEST  under VERIFICATION TESTS.
  1. Connect scan tool to Data Link Connector (DLC) located under left side of instrument panel. See Figure . Turn ignition on. Ensure scan tool communicates with air bag control module and Body Control Module (BCM). If scan tool does not communicate with either module, go to PCI BUS COMMUNICATION FAILURE  . If scan tool communicates with both modules, go to next step.
  2. Turn ignition off. Remove and inspect fuse No. 4 (15-amp) in junction block. Junction block is located under left side of instrument panel. If fuse is okay, reinstall fuse and go to next step. If fuse is blown, check for short to ground in White wire between Controller Anti-Lock Brake (CAB) and fuse No. 4 in junction block. Repair wiring as necessary. Replace fuse.
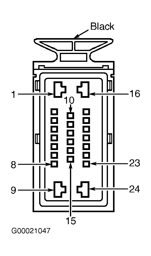
  3. Turn ignition off. Disconnect CAB connector. CAB is located on left side of engine compartment. See Figure . Measure resistance between ground and terminals No. 1 (Black wire) and No. 16 (Black wire) at CAB harness connector. See Figure . If resistance is 5 ohms or more at any terminal, repair open or high resistance in appropriate Black wire between CAB and ground. If resistance is less than 5 ohms at both terminals, go to next step.
  4. Turn ignition on. Using a test light connected to ground, probe terminal No. 10 (White wire) at CAB harness connector. If test light illuminates, go to next step. If test light does not illuminate, repair open in White wire between CAB and fuse No. 4 (15-amp) in junction block. Also check fuse No. 4 in junction block.
  5. Using Scope Input Cable (CH7058), Cable-To-Probe Adapter (CH7062), and Red and Black test leads, connect scope input cable to channel one connector. Attach Red and Black leads and cable-to-probe adapter to scope input cable. Using DRBIII(R) scan tool, select PEP MODULE TOOLS, LAB SCOPE, LIVE DATA, then 12-VOLT SQUARE WAVE. Press F2 for SCOPE and ENTER to select channel. Press F2 to set voltage range to 20-volts. Press F2 again when complete. Connect Black lead to ground. Connect Red lead to terminal No. 5 at CAB harness connector. See Figure . Turn ignition on. Observe voltage display on lab scope. Voltage should pulse between zero and 7.5-volts. If voltage is as specified, replace CAB controller. If voltage is not as specified, go to next step.
  6. Turn ignition off. Disconnect BCM C3 White 16-pin connector. BCM is connected to junction block under left side of instrument panel. Measure resistance of Yellow/Violet wire between terminals No. 2 at BCM C3 harness connector and No. 5 at CAB harness connector. See Figure and Figure . If resistance is 5 ohms or more, repair open in Yellow/Violet wire. If resistance is less than 5 ohms, replace BCM.