LEMON Manuals: Even more car manuals for everyone: 1960-2025
Home >> Chrysler >> 2006 >> Sebring GTC >> Repair and Diagnosis >> General Information >> OEM General Information >> Vehicle Data >> Vehicle Identification Number >> Notes
April 5, 2026: LEMON Manuals is launched! Read the announcement.

Vehicle Identification Number: Notes

The Vehicle Identification Number (VIN) is located on the upper left corner of the instrument panel, near the left windshield pillar. See Fig 1. The VIN consists of 17 characters in a combination of letters and numbers that provide specific information about the vehicle. Refer to VIN CODE BREAKDOWN  for decoding information.

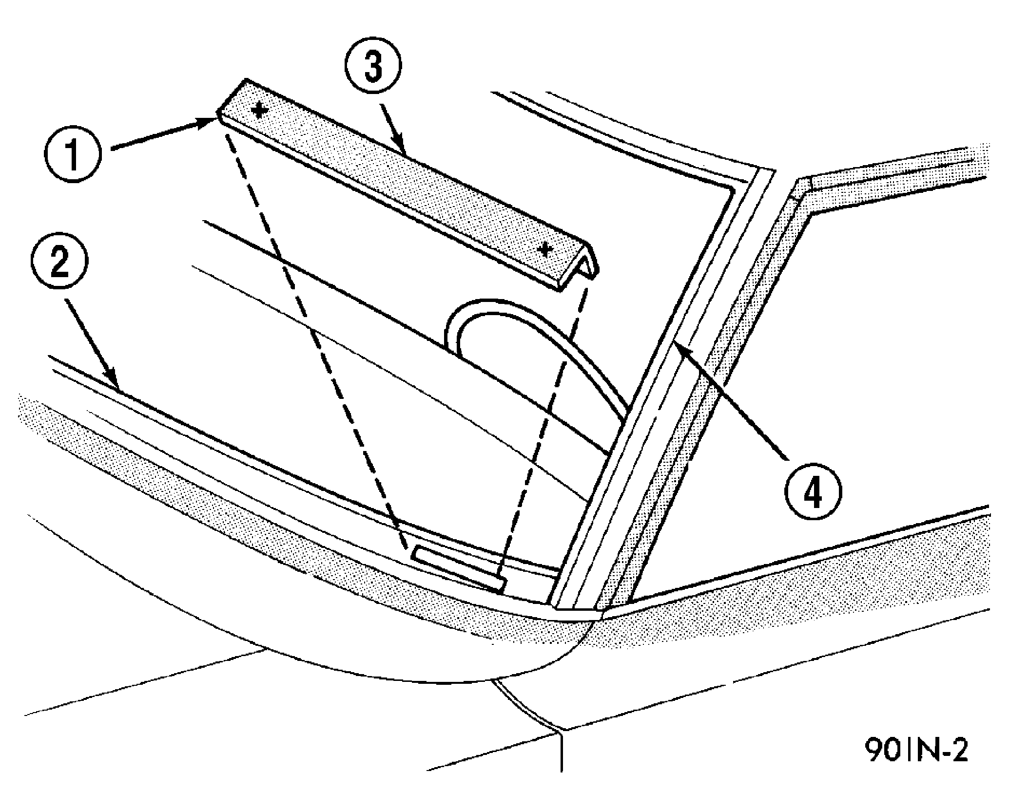
Fig 1: Vehicle Identification Number (VIN Plate)
GC0032221Courtesy of DAIMLERCHRYSLER CORP.
1 - V.I.N. PLATE
2 - DASH PANEL
3 - 17 DIGITS
4 - WINDSHIELD OPENING
VIN CODE BREAKDOWN

POSITION INTERPRETATION CODE = DESCRIPTION
1 Country of Origin 1 = Manufacture By DaimlerChrysler Corporation.
2 Make B = Dodge
- - C = Chrysler
3 Vehicle Type 3 = Passenger Car
4 Passenger Safety A = Active Front and Side Airbag
D = Without Airbags
E = Active Driver and Passenger Airbag
5 Car Line J = Cirrus
L = Sebring/Stratus
6 Series 3 = M (Medium)
4 = H (High line)
5 = P (Premium)
6 = S (Sport)
7 = X (Special)
6 - Export Series B = 4 Speed Automatic
N = 5-Speed Manual
7 Body Style 5 = Convertible
6 = 4 Door Sedan
8 Engine R = 2.7L 6 Cyl. 24V DOHC Gasoline
- - S = 2.4L 4 Cyl. 16V DOHC Turbo Gasoline
- - T = 2.7L 6 Cyl. 24V DOHC FFV
- - X = 2.4L 4 Cyl. 16V DOHC Gasoline
- - Y = 2.0 L 4 Cyl. DOHC Gasoline
9 Check Digit 0 through 9 or X
10 Model Year 6 = 2006
11 Plant N = Sterling Heights Assembly Plant
12 through 17 Sequence Number 6 digit number assigned by assembly plant.