LEMON Manuals: Even more car manuals for everyone: 1960-2025
Home >> Honda >> 2014 >> Pilot EX-L, FWD >> Repair and Diagnosis >> Electrical >> Charging Systems >> Charging System >> Alternator Overhaul >> Exploded View
April 5, 2026: LEMON Manuals is launched! Read the announcement.

Exploded View

Fig 1: Exploded View Of Alternator
G08078473Courtesy of AMERICAN HONDA MOTOR CO., INC.

Special Tools Required 

NOTE: Refer to Fig 1 if needed during this procedure.
  1. Test the alternator and regulator before you remove them (see ALTERNATOR AND REGULATOR CIRCUIT TROUBLESHOOTING  ).
  2. Remove the alternator (see ALTERNATOR REMOVAL AND INSTALLATION  ).

    Alternator Disassembly 

  3. If the front bearing needs replacing, remove the over-run alternator decoupler (OAD) pulley (see OVER-RUN ALTERNATOR DECOUPLER (OAD) PULLEY REMOVAL AND INSTALLATION  ).
  4. Remove the three flange nuts.
    Fig 2: Identifying Flange Nuts
    G08078474Courtesy of AMERICAN HONDA MOTOR CO., INC.
  5. Remove the end cover (A) and the terminal insulator (B).
    Fig 3: Identifying End Cover And Terminal Insulator
    G08078475Courtesy of AMERICAN HONDA MOTOR CO., INC.
  6. Remove the brush holder assembly (A).
    Fig 4: Identifying Brush Holder Assembly
    G08078476Courtesy of AMERICAN HONDA MOTOR CO., INC.
  7. Remove the four through bolts, then remove the rear housing assembly (A) and the washer (B).
    Fig 5: Identifying Rear Housing Assembly And Washer
    G08078477Courtesy of AMERICAN HONDA MOTOR CO., INC.
  8. If you are not replacing the front bearing, go to step  13. Remove the rotor from the drive-end housing.
    Fig 6: Identifying Drive-End Housing
    G08078478Courtesy of AMERICAN HONDA MOTOR CO., INC.
  9. Inspect the rotor shaft for scoring, and inspect the bearing journal surface in the drive-end housing for seizure marks:
    • If the rotor is damaged, replace the rotor assembly.
    • If the rotor is OK, go to step 10.
  10. Remove the front bearing retainer.
    Fig 7: Identifying Front Bearing Retainer
    G08078479Courtesy of AMERICAN HONDA MOTOR CO., INC.
  11. Drive out the front bearing with a brass drift and a hammer.
    Fig 8: Removing Front Bearing Using Brass Drift And Hammer
    G08078480Courtesy of AMERICAN HONDA MOTOR CO., INC.
  12. Install a new front bearing in the drive-end housing with a hammer, the driver handle, 15 x 135L, and the bearing driver attachment, 42 x 47 mm.
    Fig 9: Installing Front Bearing In Drive-End Housing Using Hammer
    G08078481Courtesy of AMERICAN HONDA MOTOR CO., INC.

    Alternator Brush Inspection 

  13. Measure the length of both brushes (A) with a vernier caliper (B):
    • If either brush is shorter than the service limit, replace the brush holder assembly.
    • If the brush length is OK, go to step 14.

    Alternator Brush Length 

    Standard (New): 10.5 mm (0.413 in) 

    Service Limit: 1.5 mm (0.059 in) 

    Fig 10: Measuring Length Of Both Brushes Using Vernier Caliper
    G08078482Courtesy of AMERICAN HONDA MOTOR CO., INC.

    Rotor Slip Ring Test 

  14. Check for continuity between the slip rings (A):
    • If there is continuity, go to step 15.
    • If there is no continuity, replace the rotor assembly.
      Fig 11: Identifying Slip Rings, Rotor And Rotor Shaft
      G08078483Courtesy of AMERICAN HONDA MOTOR CO., INC.
  15. Check for continuity between each slip ring and the rotor (B) and the rotor shaft (C):
    • If there is no continuity, go to step 16.
    • If there is continuity, replace the rotor assembly.

    Alternator Reassembly 

  16. If you removed the OAD pulley, install it (see INSTALLATION  ).
  17. Remove any grease or any oil from the slip rings.
  18. Put the rear housing assembly and the drive-end housing/rotor assembly together, tighten the four through bolts.
  19. Push the brushes (A) in, then insert a pin or drill bit (B) (about 1.6 mm (1/16 in) diameter) to hold them there.
    Fig 12: Installing Brush Holder Assembly
    G08078484Courtesy of AMERICAN HONDA MOTOR CO., INC.
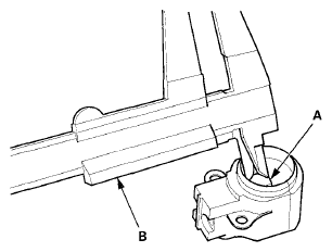
  20. Install the brush holder assembly, and pull out the pin or drill bit.
    Fig 13: Installing End Cover
    G08078485Courtesy of AMERICAN HONDA MOTOR CO., INC.
  21. Install the end cover.
  22. After assembling the alternator, turn the pulley by hand to make sure the rotor turns smoothly and without noise.
  23. Install the alternator (see INSTALLATION  ).