LEMON Manuals: Even more car manuals for everyone: 1960-2025
Home >> Lincoln >> 2000 >> LS 3.0 S, Automatic >> Repair and Diagnosis >> Accessories & Equipment >> Communication Devices >> Module Communications Network >> System Tests >> Test I: Remote Emergency Satellite Cellular Unit (RESCU) Module Does Not Respond To NGS Tester
April 5, 2026: LEMON Manuals is launched! Read the announcement.

Test I: Remote Emergency Satellite Cellular Unit (RESCU) Module Does Not Respond To NGS Tester

NOTE: Remote Emergency Satellite Cellular Unit (RESCU) module will fail data link diagnostic test if vehicle is not equipped with this module. Vehicles with voice activated cellular phone are equipped with a RESCU module.
  1. Turn ignition switch to LOCK position. Disconnect RESCU module harness connector C401a, located in left side of trunk compartment. Disconnect NGS tester (if connected). Inspect harness connector for loose, damaged or corroded terminals. If problem exists, repair harness connector as necessary and retest system for normal operation. If problem does not exist, go to next step.
  2. Connect RESCU module harness connector C401a and connect NGS tester. Turn ignition switch to RUN position. Perform data link diagnostic test. See DATA LINK DIAGNOSTIC TEST  under SELF-DIAGNOSTIC SYSTEM. If NGS tester indicates RESCU: NO RESPONSE ON CKT 914 (BUS +), go to next step. If NGS tester indicates RESCU: NO RESPONSE ON CKT 915 (BUS -), go to step  9 .
  3. Turn ignition switch to LOCK position. Disconnect RESCU module harness connector C401a. Disconnect NGS tester. Measure resistance between terminal No. 11 (Gray/Black wire) at RESCU module harness connector C401a and terminal No. 2 (Gray/Red wire) at Data Link Connector (DLC). See Figure and Fig 1 . If resistance is greater than 5 ohms, go to next step. If resistance is 5 ohms or less, replace RESCU module and retest system for normal operation.
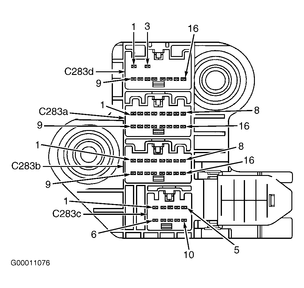
  4. Disconnect Auxiliary Junction Box (AJB) harness connector C283b, located behind left side of instrument panel. See Figure . Inspect harness connector for loose, damaged or corroded terminals. If problem does not exist, go to next step. If problem exists, repair harness connector as necessary and retest system for normal operation.
  5. Measure resistance in Gray/Black wire between terminal No. 8 at AJB harness connector C283b and terminal No. 11 at RESCU module harness connector C401a. See Figure and Fig 1 . If resistance is 5 ohms or less, go to next step. If resistance is greater than 5 ohms, repair open in Gray/Black wire between AJB and RESCU module. Retest system for normal operation.
  6. Disconnect AJB harness connector C283d, located behind left side of instrument panel. See Figure . Measure resistance between terminal No. 8 at AJB connector C283b and terminal No. 16 at AJB connector C283d (component side). See Figure . If resistance is 5 ohms or less, go to next step. If resistance is greater than 5 ohms, replace AJB and retest system for normal operation.
  7. Disconnect joint connector No. 4 harness connector C223, located behind left side of instrument panel. Measure resistance in Gray wire between terminal No. 12 at joint connector No. 4 harness connector C223 and terminal No. 16 at AJB harness connector C283d. See Figure and Figure . If resistance is 5 ohms or less, go to next step. If resistance is greater than 5 ohms, repair open in Gray wire between AJB and joint connector No. 4. Retest system for normal operation.
  8. Measure resistance between terminals No. 12 and 14 at joint connector No. 4 (component side). See Figure . If resistance is 5 ohms or less, repair open in Gray/Red wire between joint connector No. 4 and DLC. Retest system for normal operation. If resistance is greater than 5 ohms, replace joint connector No. 4 and retest system for normal operation.
  9. Turn ignition switch to LOCK position. Disconnect RESCU module harness connector C401a. Disconnect NGS tester. Measure resistance between terminal No. 5 (Blue/Yellow wire) at RESCU module harness connector C401a and terminal No. 10 (Blue/Red wire) at Data Link Connector (DLC). See Figure and Fig 1 . If resistance is greater than 5 ohms, go to next step. If resistance is 5 ohms or less, replace RESCU module and retest system for normal operation.
  10. Disconnect Auxiliary Junction Box (AJB) harness connector C283b, located behind left side of instrument panel. See Figure . Inspect harness connector for loose, damaged or corroded terminals. If problem does not exist, go to next step. If problem exists, repair harness connector as necessary and retest system for normal operation.
  11. Measure resistance in Blue/Yellow wire between terminal No. 4 at AJB harness connector C283b and terminal No. 5 at RESCU module harness connector C401a. See Figure and Fig 1 . If resistance is 5 ohms or less, go to next step. If resistance is greater than 5 ohms, repair open in Blue/Yellow wire between AJB and RESCU module. Retest system for normal operation.
  12. Disconnect AJB harness connector C283d, located behind left side of instrument panel. See Figure . Measure resistance between terminal No. 4 at AJB connector C283b and terminal No. 12 at AJB connector C283d (component side). See Figure . If resistance is 5 ohms or less, go to next step. If resistance is greater than 5 ohms, replace AJB and retest system for normal operation.
  13. Disconnect joint connector No. 4 harness connector C223, located behind left side of instrument panel. Measure resistance in Blue wire between terminal No. 11 at joint connector No. 4 harness connector C223 and terminal No. 12 at AJB harness connector C283d. See Figure and Figure . If resistance is 5 ohms or less, go to next step. If resistance is greater than 5 ohms, repair open in Blue wire between AJB and joint connector No. 4. Retest system for normal operation.
  14. Measure resistance between terminals No. 9 and 11 at joint connector No. 4 (component side). See Figure . If resistance is 5 ohms or less, repair open in Blue/Red wire between joint connector No. 4 and DLC. Retest system for normal operation. If resistance is greater than 5 ohms, replace joint connector No. 4 and retest system for normal operation.
Fig 1: Identifying Remote Emergency Satellite Cellular Unit Module Harness Connector Terminals
G00011088Courtesy of FORD MOTOR CO.