LEMON Manuals: Even more car manuals for everyone: 1960-2025
Home >> Mazda >> 2004 >> B2300 Base, Automatic >> Repair and Diagnosis >> Brakes >> Traction Control >> Antilock Brake System >> Abs Control Module Removal/Installation
April 5, 2026: LEMON Manuals is launched! Read the announcement.

Abs Control Module Removal/Installation

  1. Remove the hydraulic control unit, See ABS HYDRAULIC CONTROL UNIT REMOVAL/INSTALLATION  .
    NOTE:
    • The ABS module cannot be repaired, install a new ABS module.
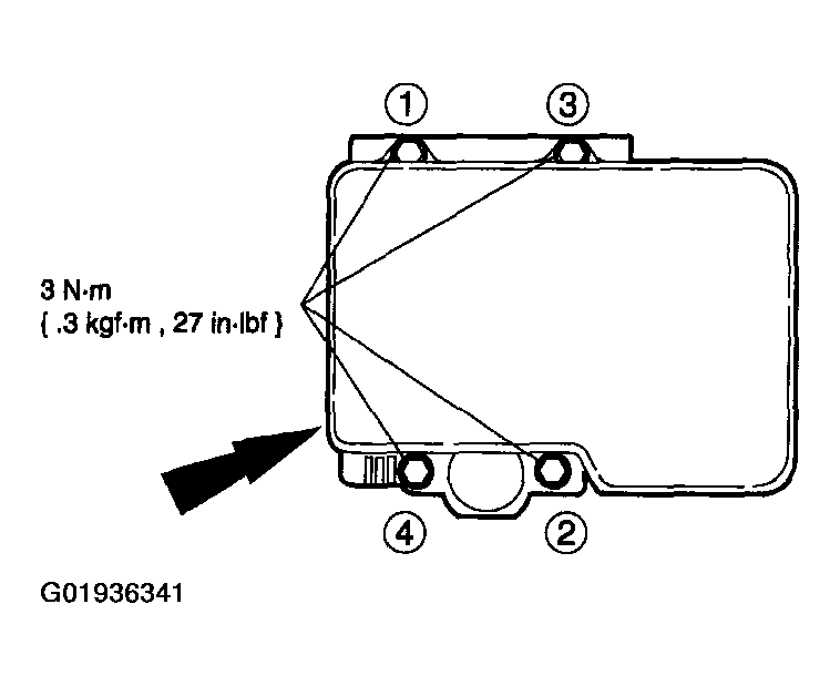
  2. Remove the bolts.
    Fig 1: Removing ABS Module Bolts
    G01936341Courtesy of MAZDA MOTORS CORP.
    CAUTION:
    • When the ABS module separated from the HCU, the motor terminals and the valve stems will be exposed. Protect the terminals and the valve stems from damage.
  3. Remove the ABS module from the HCU.
    Fig 2: Removing ABS Module From HCU
    G01936342Courtesy of MAZDA MOTORS CORP.
    CAUTION:
    • A new seal kit must be used when installing the ABS module. The old seals must be discarded as they may cause a leak between the ABS module and the HCU.
    NOTE:
    • The O-ring seals must be installed to the valve flange. Make sure there is no twist to the O-ring seal when installed.
  4. Discard the O-ring seals and install new ones (one seal per each valve stem).
    Fig 3: Discarding O-Ring Seals
    G01936343Courtesy of MAZDA MOTORS CORP.
    NOTE:
    • Clean the groove of the ABS module before installing a new seal.
  5. Discard the ABS module sealing material and install a new seal.
    Fig 4: Discarding ABS Module Sealing Material
    G01936344Courtesy of MAZDA MOTORS CORP.
    CAUTION:
    • All components must be free of dust, oil, fluid and foreign matter.
  6. To install, reverse the removal procedure.