LEMON Manuals: Even more car manuals for everyone: 1960-2025
Home >> Mazda >> 2007 >> 6 Mazdaspeed >> Repair and Diagnosis (Single Page) >> Body & Frame >> Door Locks >> Security System And Locks System >> Immobilizer System Component Replacement/Key Addition And Clearing [With Advanced Keyless System] >> No. 3 PCM, and Key Replacement Procedure (Clearing Previously Programmed Key ID Numbers, Key Re-program) >> Procedure
April 5, 2026: LEMON Manuals is launched! Read the announcement.

No. 3 PCM, and Key Replacement Procedure (Clearing Previously Programmed Key ID Numbers, Key Re-program): Procedure

Fig 1: Replacement Key
G04327377Courtesy of MAZDA MOTORS CORP.
  1. Prepare two or more keys to be programmed after the key ID number clearing.
  2. Connect the M-MDS to the DLC-2. (See M-MDS Connecting Procedure ).
  3. Using key 1, turn the ignition switch to the ON position.
    NOTE:
    • Although the security light flashes and DTC 15 or 21 is displayed, this does not indicate an improper procedure. Continue to perform the procedure as indicated.
  4. Verify that the keyless warning light illuminates for approx. 3 s  , and then goes out.
  5. Select "BODY/SECURITY/PATS (immobilizer) function" from the menu.
  6. Select "Ignition key ID number Clearing" from the M-MDS screen menu and perform the procedure according to the M-MDS screen.
  7. Perform the security access according to the direction of the M-MDS screen. (See SECURITY ACCESS PROCEDURE ).
  8. After verifying that the PATS function menu is displayed again on the M-MDS screen, select "Finish (this menu)" to finish the M-MDS procedure.
  9. After Step 9, wait 5 s or more  , and then turn the ignition switch to the LOCK position.
  10. Using key 1, turn the ignition switch to the ON position.
  11. After verifying that the security light and keyless warning light illuminates for 3 s or more  turn the ignition switch to the LOCK position and remove key 1.
    NOTE:
    • Although the security light flashes and DTC 21 is displayed, this does not indicate an improper procedure. Continue to perform the procedure as indicated.
  12. Using key 2, turn the ignition switch to the ON position.
  13. Verify that the security light and keyless warning light illuminates for approx. 3 s  , and then goes out.
  14. After, verifying that the security light goes out, turn the ignition switch to the LOCK position using key 2, and then remove key 2.
  15. If an additional key needs to be programmed, repeat Steps  13--15 with the additional key being key 3. If the ignition switch is held in the ON position for 1 min or more,  the additional key programming procedure according to Steps  13--15 will not be possible. If this occurs, refer to " NO. 1 ADDITIONAL KEY PROGRAMMING PROCEDURE (USING TWO VALID KEYS) " to register any additional keys.
  16. Start the engine with the key 1.
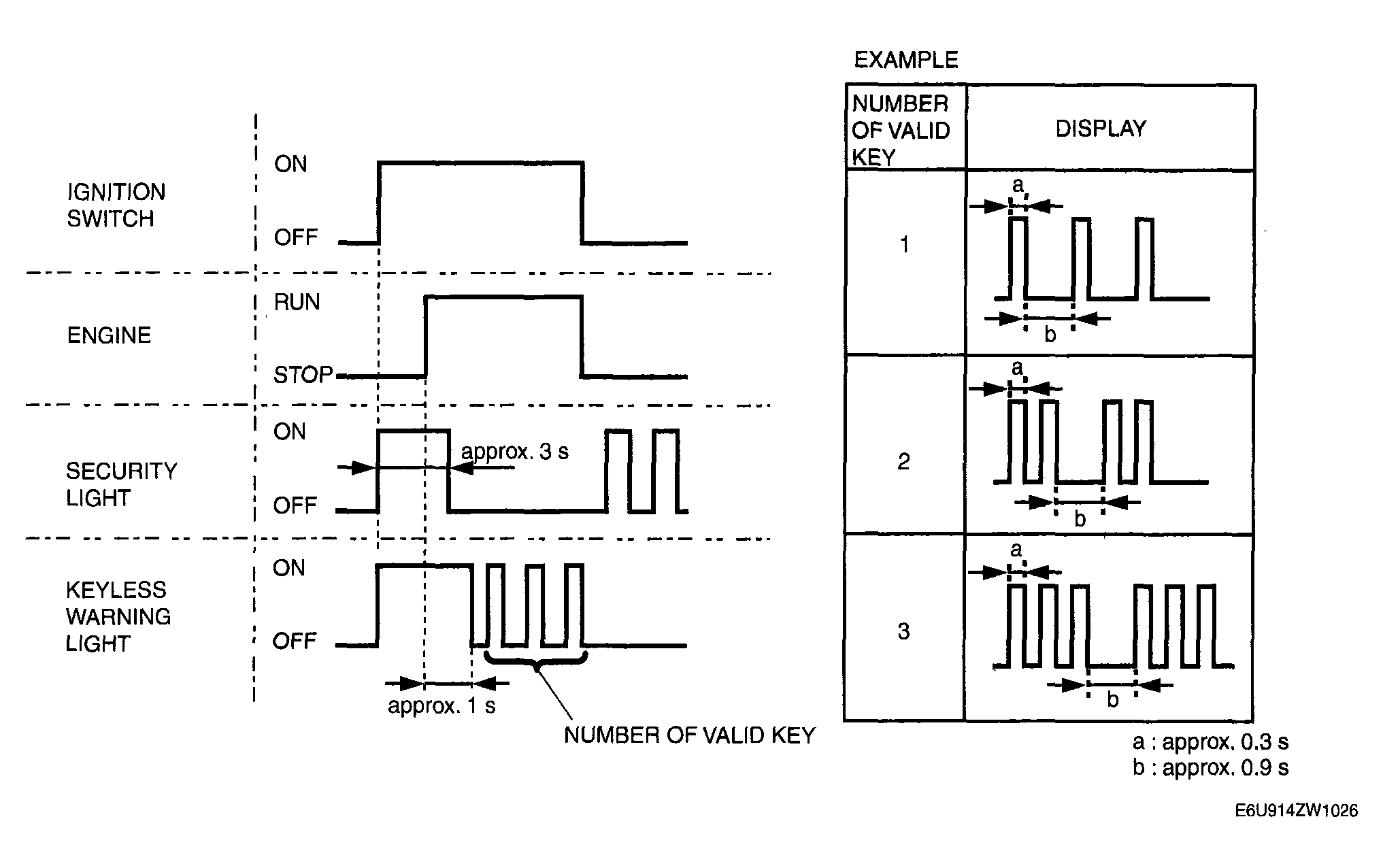
  17. Verify that the security light and keyless warning light operate as follows:
    • From the point when the ignition switch is turned to the ON position, the security light illuminates for approx. 3 s  and goes out.
    • The keyless warning light illuminates with the ignition switch turned to the ON position, and after approx. 1 s  after the engine is started, it goes out and displays the number of programmed keys.
      Fig 2: Identifying Blinking Pattern
      G04327378Courtesy of MAZDA MOTORS CORP.
  18. After verifying that the keyless warning light goes out, turn the ignition switch to the LOCK position using key 1.
  19. Repeat Steps  17--19 using key 2 instead of key 1.
    NOTE:
    • Perform Steps  17--19 as well when there are three or more programmed keys.
  20. Start the engine with the card key and remove any key from the key cylinder.
    CAUTION:
    • Remove any key from the key cylinder.
  21. Verify that the security light and keyless warning light operate as follows:
    • From the point when the ignition switch is turned to the ON position, the security light illuminates for approx. 3 s  , and goes out.
    • The keyless warning light illuminates when the ignition switch is turned to the ON position, and after approx. 1 s  after the engine is started, it goes out.
  22. Turn the ignition switch to the LOCK position after verifying that the keyless warning light goes out.