LEMON Manuals: Even more car manuals for everyone: 1960-2025
Home >> Mercedes Benz >> 2003 >> CLK430 >> Repair and Diagnosis >> Engine Performance >> Fuel Delivery >> Fuel System -- 208 Chassis >> Basic Knowledge >> Fuel tank position/design/function - GF47.10-P-3000E >> Notes
April 5, 2026: LEMON Manuals is launched! Read the announcement.

Fuel tank position/design/function - GF47.10-P-3000E: Notes

MODEL 202.0, 208 

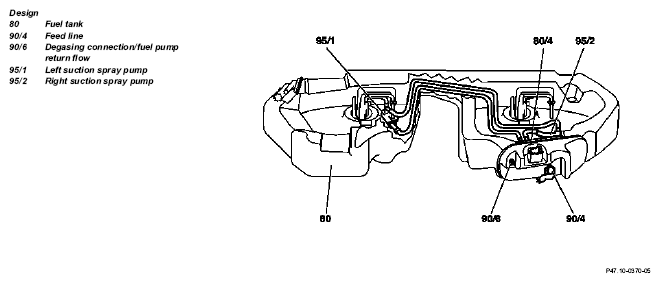
Fig 1: Identifying Fuel Tank Design And Components
G04728719USA ONLY
  Fuel tank position The fuel tank (80) is positioned at the frame floor ahead of the rear axle because of the through-loading facility (from trunk into passenger compartment)  
  Fuel tank design Because of the U-shaped recess, the fuel tank (80) is split into two chambers. The chambers are connected in the upper half. Splash bowl (80/5), connection lines from the left to the right fuel chamber, closing plate with fuel gage sensor, drain valves and suction spray pumps (95/1) and (95/2) are installed in the bottom area  
  Fuel tank function   GF47.10-P-3000-01E 
  Fuel gage sensor (B4) position/task/design/ function   GF47.10-P-3001H
  Drain valves task/design/function   GF47.10-P-3100H 
  Splash bowl position/task/function   GF47.10-P-3101E 
  Suction spray pump position/task/design/function   GF47.10-P-3102E 
  Closing plate task/design   GF47.10-P-3103H 
  On-board refueling vapor recovery function USA ONLY as of MY 98 GF47.10-P-3004B