LEMON Manuals: Even more car manuals for everyone: 1960-2025
Home >> Subaru >> 2013 >> Outback Base, Standard Trans >> Repair and Diagnosis >> External Pages >> Different car >> Section 24 (Vehicle Dynamics Control (VDC) System) >> VDC Control Module and Hydraulic Control Unit (VDCCM& H/U) >> Replacement
April 5, 2026: LEMON Manuals is launched! Read the announcement.

VDC Control Module and Hydraulic Control Unit (VDCCM& H/U): Replacement

WARNING: This page is about a different car, the 2013 Subaru Forester. However, it is still accessible from the selected car via links, so may be relevant.
CAUTION:
  • Because the pressure sensor built into the H/U is easily damaged by static electricity, start the operation after performing static electricity measures.
  • Be careful not to touch the sensors in the H/U to prevent damage.
  • Because the seal of the VDCCM cannot be replaced, do not pull or peel it by lifting it up.
  • Because the screw of the H/U will become slightly worn in every replacement procedure, 5 times is the maximum number of times for replacement. If a problem is found such as not being able to torque the screw to specifications even before 5 replacement operations are performed, replace the H/U body.
  • When installing the VDCCM, always use new screws.
  • When the sealing surface of the VDCCM or H/U is dirty or damaged and it cannot be cleaned or repaired, replace with a new part.
  1. Remove the VDCCM&H/U.< Refer to REMOVAL , VDC Control Module and Hydraulic Control Unit (VDCCM&H/U). >
  2. To prevent entry of foreign objects and brake fluid leakage, plug the oil pressure port of the VDCCM& H/U using a screw plug, etc.
  3. Set the pump motor section of the removed VDCCM& H/U face down on a vise.
    NOTE: Before securing a part on a vise, place cushioning material such as wood blocks, aluminum plate, or cloth between the part and the vise.
    Fig 1: Positioning Of VDCCM & H/U Face On Vise
    G08565558Courtesy of SUBARU OF AMERICA, INC.
  4. Using TORX® bit E5, remove the four screws of VDCCM.
    NOTE: These screws cannot be reused.
    Fig 2: Identifying VDCCM & H/U Mounting Screws
    G05003731Courtesy of SUBARU OF AMERICA, INC.
  5. Slowly pull out the VDCCM upward from the H/U.
    NOTE: To prevent damaging of coil section, remove the VDCCM straight up from H/U without twisting.
  6. Make sure there is no dirt or damage on the sealing surface of the H/U.
    CAUTION:
    • Do not clean the VDCCM&H/U by applying compressed air.
    • Even if damage is found on the H/U seal, do not attempt repair by filing or with a metal scraper. To remove the seal residue, always use a plastic scraper. Do not use chemical such as paint thinner, etc., to clean.
  7. Position the coil of the new VDCCM to align with the H/U valve.
  8. To prevent deformation of the VDCCM housing cover, hold the corner of VDCCM and install it to the H/U without tilting.
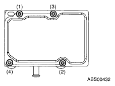
  9. Using a TORX® bit E5, attach/tighten new screws in the order of (1) through (4).
    CAUTION: Always use new screws.

    Tightening torque: 

    1.5 N.m (0.15 kgf-m, 1.1 ft-lb) 

    Fig 3: Identifying Tightening Sequence Of VDCCM & H/U Mounting Screws
    G05003732Courtesy of SUBARU OF AMERICA, INC.
  10. Check that there is no foreign matter in mating surface between the VDCCM&H/U.
  11. Using a TORX® bit E5, tighten the screws in the order of (1) through (4) again.

    Tightening torque: 

    3 N.m (0.31 kgf-m, 2.2 ft-lb) 

  12. Check that there is no gap in the mating surface between VDCCM&H/U.
  13. Install the VDCCM&H/U to the vehicle.
  14. Bleed air from the brake system.< Refer to PROCEDURE , Air Bleeding. >
  15. Perform the selection registration operation of parameter.< Refer to PARAMETER SELECTION , OPERATION, Subaru Select Monitor. >
    NOTE:
    • After replacing the VDCCM, be sure to perform the selection registration operation of parameter.
    • For the selection and registration of parameter, the Subaru Select Monitor is required.
    • When the registration has not been performed, the DTC code "Parameter selection error" is detected together with the ABS/EBD/VDC warning light illumination.
  16. Check the parameter to confirm that the applied models and grades of the relevant vehicle are included.< Refer to PARAMETER CHECK , OPERATION, Subaru Select Monitor. >
  17. If the applied models and grades of the relevant vehicle are not included, perform the selection registration operation of parameter with the {Confirm on parameter} screen again.< Refer to PARAMETER SELECTION , OPERATION, Subaru Select Monitor. >
  18. Execute Clear Memory after parameter selection and registration operations because the DTC for "Parameter selection error" is memorized.