LEMON Manuals: Even more car manuals for everyone: 1960-2025
Home >> Suzuki >> 1996 >> Sidekick JS, 2D Utility, Automatic >> Repair and Diagnosis >> External Pages >> Different variant/trim >> Section 1 (Anti-Lock Brake System) >> Component Tests >> Abs Fail-Safe Relay
April 5, 2026: LEMON Manuals is launched! Read the announcement.

Abs Fail-Safe Relay

WARNING: This page is about a different variant/trim than selected.
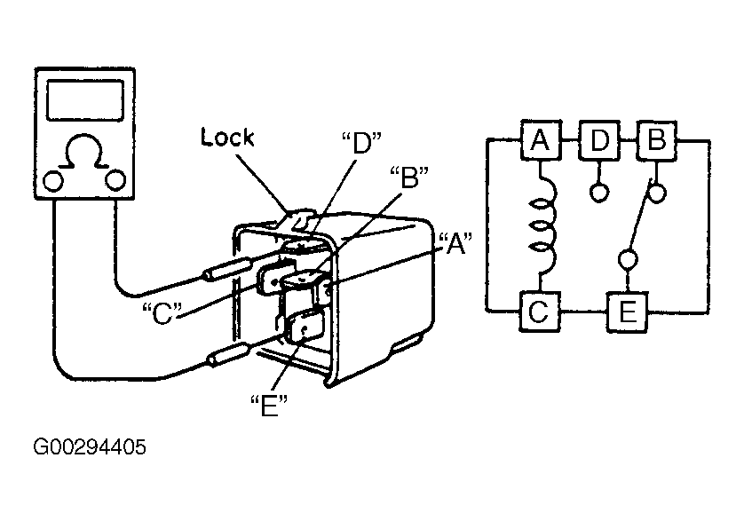
  1. Turn ignition off and disconnect negative battery cable. Remove ABS fail-safe relay from engine compartment fuse/relay block and check resistance between relay terminals. Resistance between relay terminals "A" and "C" should be 70-90 ohms at 68°F (20°C). See Fig 1 . Continuity should exist between relay terminals "B" and "E". No continuity should exist between relay terminals "D" and "E".
  2. Using jumper wires, apply battery voltage to relay terminals "A" and "C". Continuity should now exist between relay terminals "D" and "E". Replace ABS fail-safe relay if it does not test as specified.
Fig 1: Identifying ABS Fail-Safe Relay & ABS Pump Motor Relay Terminals
G00294405Courtesy of SUZUKI OF AMERICA CORP.