LEMON Manuals: Even more car manuals for everyone: 1960-2025
Home >> Chrysler >> 2009 >> PT Cruiser Base, Automatic >> Repair and Diagnosis >> Electrical >> Component Locations >> Electrical Component Locator >> Grounds
April 5, 2026: LEMON Manuals is launched! Read the announcement.

Electrical Component Locator: Grounds

GROUNDS LOCATION

Component Location
G100 Left side of engine compartment. See Figure.
G101 Battery tray. See Figure.
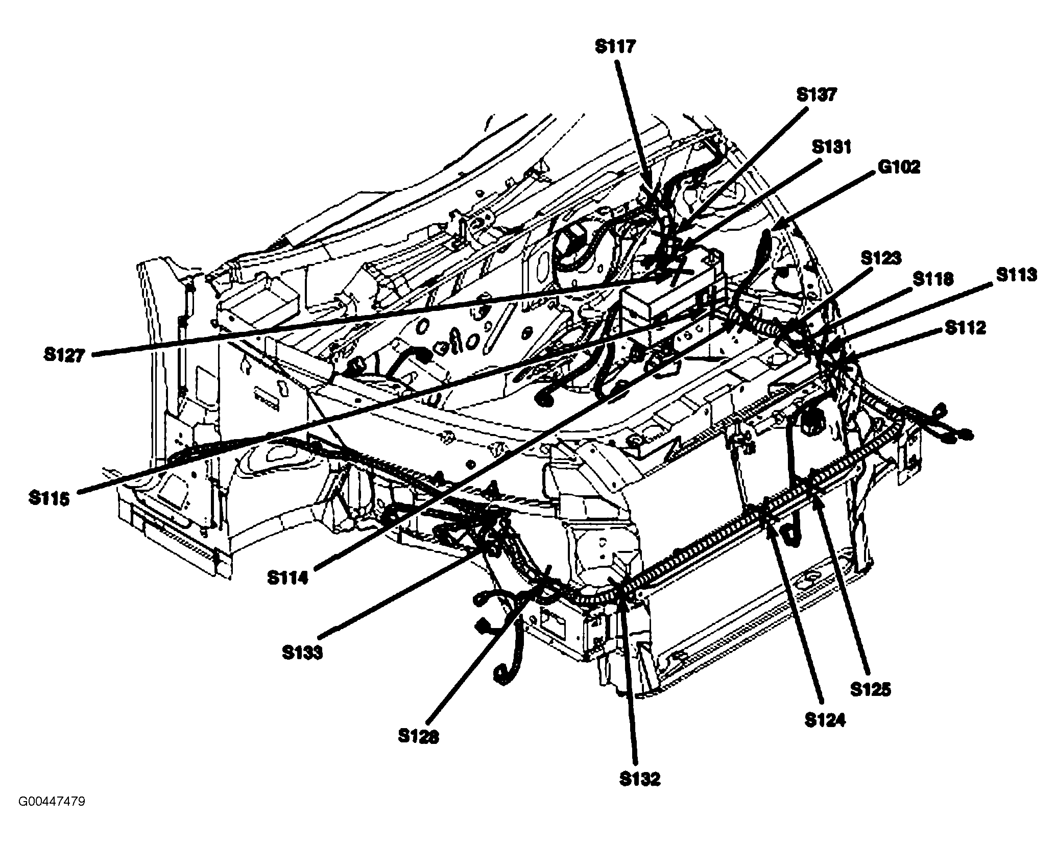
G102 Left front strut tower. See Figure.
G104 At front of right front fender. See Figure.
G105 Left front inner fender. See Figure.
G200 Behind center of dash.
G201 Behind center of dash. See Figure.
G202 Left kick panel, near breakout for air bag control module. See Figure.
G203 Behind center of dash. See Figure.
G204 Front center body. See Figure.
G302 (Convertible) Left "B" pillar. See Figure.
G302 (Except Convertible) Left "C" pillar. See Figure.
G303 (Convertible) Rear of right side "B" pillar. See Figure.
G303 (Except Convertible) Right rear quarter panel. See Figure.
Heated Electric Backlite Ground Right side of rear window. See Figure.