LEMON Manuals: Even more car manuals for everyone: 1960-2025
Home >> Volvo >> 1996 >> 850 Base, 4D Sedan, Automatic >> Repair and Diagnosis >> Engine Performance >> Remove, Overhaul & Install >> Engine Controls - Remove/Install/Overhaul >> Fuel System >> Fuel Tank >> Installation
April 5, 2026: LEMON Manuals is launched! Read the announcement.

Fuel Tank: Installation

NOTE: When installing a new fuel tank, components must be replaced with new parts. Failure to do so may result in fuel leakage.
  1. Replace the following with new parts:
    • Level sensor nut (white)
    • Level sensor nut seal
    • Fuel pump nut (black)
    • Fuel pump nut seal
    • Fuel filler pipe seal.
  2. Transfer and install two covers from old fuel tank (if necessary). See Fig 1. Do not forget the self-adhesive tape on left side of rear plate.
    Fig 1: Using Self-Adhesive Tape On Left Side Of Fuel Tank
    G00278513Courtesy of VOLVO CARS OF NORTH AMERICA.
  3. Install rubber seal on fuel pump unit and level sensor. See Figure. Lubricate the inside and top of the seal with petroleum jelly.
  4. NOTE: Check the seating of the fuel pump unit and level sensor. See Fig 2. Engine may stall if the fuel tank unit is installed incorrectly.
    Fig 2: Checking Fuel Pump & Level Sensor Installation
    G00278515Courtesy of VOLVO CARS OF NORTH AMERICA.
  5. Install fuel pump unit and level sensor. Install heater connector on the right and level sensor with cable on the left. Tighten both nuts to specification. See TORQUE SPECIFICATIONS . See Figure. Check level transmitter wiring.
  6. Install fuel filler pipe as follows:
    • Install rubber seal on fuel tank collar.
    • Lubricate inside of gasket and lower end of filler pipe.
    • Check to see if check-valve is correctly positioned with its locking tab in position on pipe.
    • Press pipe firmly into seal so that it slides into position.
    • Install filler pipe flange and screws. See TORQUE SPECIFICATIONS .
  7. Reconnect hoses to fuel tank. See Figure and Fig 3 . Tighten exhaust clamps. Turn spring clamps so that they do not rub against floor.
    Fig 3: Checking Routing Of Hoses
    G00278514Courtesy of VOLVO CARS OF NORTH AMERICA.
  8. Rest tank and tank band on jack. See Fig 4.
    Fig 4: Resting Tank & Tank Band On Jack
    G00278516Courtesy of VOLVO CARS OF NORTH AMERICA.
  9. Raise tank and tighten tank band at rear.
  10. Push tank forward as far as possible.
  11. Center tank so that the level sensor nut (white) does not contact the edge of the opening. See Fig 5.
    Fig 5: Centering Tank
    G00278517Courtesy of VOLVO CARS OF NORTH AMERICA.
  12. Tighten front tank band bolt.
  13. Press clip with the fuel hoses into place on the tank band.
  14. Install filler housing around top of filler pipe.
  15. Check inner rubber seal and drain pipe is inside the inner seal.
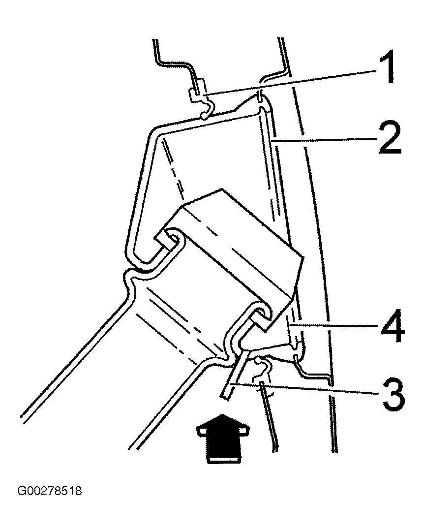
  16. Check circlip (1) is in position and oil mating surface on the rubber cover (2). See Fig 6.
  17. Install cover.
  18. Install drain hose (3) or water or fuel will enter the cargo compartment, install ring (4).
  19. Install panels and carpets.
    Fig 6: Installing Circlip, Rubber Cover & Drain Hose
    G00278518Courtesy of VOLVO CARS OF NORTH AMERICA.