LEMON Manuals: Even more car manuals for everyone: 1960-2025
Home >> Saturn >> 2009 >> Vue Red Line, AWD >> Repair and Diagnosis >> External Pages >> Different car >> Section 344 (Lighting Systems) >> Component Locator >> Lighting Systems Component Views (RHD)
April 5, 2026: LEMON Manuals is launched! Read the announcement.

Lighting Systems Component Views (RHD)

WARNING: This page is about a different car, the 2007 Cadillac SRX. However, it is still accessible from the selected car via links, so may be relevant.
Fig 1: Identifying Instrument Panel and Floor Console Components
GM1860841Courtesy of GENERAL MOTORS CORP.
Callouts For Fig 1

Callout Component Name
1 Inflatable Restraint I/P Module
2 Analog Clock
3 Sunload/Ambient Light Sensor
4 Speaker - Front Midrange (UQS)
5 Turn Signal/Multifunction Switch
6 Instrument Panel Cluster (IPC)
7 Inflatable Restraint Steering Wheel Module
8 Windshield Wiper/Washer Switch
9 Dimmer Switch
10 Driver Information Center (DIC) Switch
11 Data Link Connector (DLC)
12 Courtesy Lamp - Right Footwell
13 HVAC Control Module
14 Inside Air Temperature Sensor
15 Traction Control Switch
16 Cigar Lighter
17 Inflatable Restraint I/P Module Indicator
18 Auxiliary Power Outlet - Center Console 1
19 Auxiliary Power Outlet - Center Console 2 (UQS)
20 Speaker - Center Console (UQS)
21 Rear Video Display (U42)
22 Tow/Haul Switch
23 Hazard Switch
24 Rear Window Defogger Switch
25 Courtesy Lamp - Right Footwell
26 Radio/CD/DVD/Navigation Unit
Fig 2: Identifying Front Exterior Lights (w/TT6/TT7)
GM1265131Courtesy of GENERAL MOTORS CORP.
Callouts For Fig 2

Callout Component Name
1 Headlamp - Low Beam - Left, Right Similar
2 Headlamp - High Beam - Left, Right Similar
3 Headlamp Ballast - Left, Right Similar (TR7)
4 Marker Lamp - Left
5 Headlamp Assembly - Left
6 Turn Signal Lamp - LF
7 Fog Lamp - LF
8 Park Lamp - Right/Left
9 Fog Lamp - RF
10 Turn Signal Lamp - RF
11 Headlamp Assembly - Right
12 Marker Lamp - Right
13 Headlamp Washer Fluid Nozzle - Left/Right (XA7)
Fig 3: Identifying Front Exterior Lights (w/o TT6/TT7)
GM1380540Courtesy of GENERAL MOTORS CORP.
Callouts For Fig 3

Callout Component Name
1 Turn Signal Lamp - RF, LF Similar
2 Fog Lamp - RF, LF Similar
3 Headlamp - Low Beam - Left, Right Similar
4 Marker Lamp - Left, Right Similar
5 Headlamp - High Beam - Left, Right Similar
6 Park Lamp - Left, Right Similar
Fig 4: Identifying Left Front Wheel Well Components
GM1855252Courtesy of GENERAL MOTORS CORP.
Callouts For Fig 4

Callout Component Name
1 Headlamp Assembly - LF
2 Headlamp Leveling Sensor - Front (TR7)
Fig 5: Identifying Left Rear Wheel Well Components
GM1855249Courtesy of GENERAL MOTORS CORP.
Callouts For Fig 5

Callout Component Name
1 Headlamp Leveling Sensor - Rear (TR7)
2 Rotor - LR
Fig 6: Identifying Hydraulic Brake Components (RHD)
GM1855527Courtesy of GENERAL MOTORS CORP.
Callouts For Fig 6

Callout Component Name
1 Brake Fluid Reservoir
2 Brake Fluid level Switch
3 Adjustable Accelerator Pedal Position Sensor (JF4)
4 Adjustable Pedal Motor (JF4)
5 Accelerator Pedal Position (APP) Sensor
6 Park Brake Switch
7 Adjustable Brake Pedal Position Sensor (JF4)
Fig 7: Identifying Rear Exterior Lights
GM1265812Courtesy of GENERAL MOTORS CORP.
Callouts For Fig 7

Callout Component Name
1 Center High Mounted Stop Lamp (CHMSL)
2 Courtesy Lamp - Liftgate
3 Tail Lamp Assembly - Right
4 Tail Lamp Drive Module - Right
5 Object Sensor - RR Corner
6 Backup Lamp - Right
7 License Lamp - Right
8 Object Sensor - RR Middle
9 Object Sensor - LR Middle
10 License Lamp - Left
11 Backup Lamp - Left
12 Object Sensor - LR Corner
13 Tail Lamp Drive Module - Left
14 Tail Lamp Assembly - Left
15 C901
16 Fog Lamp - LR/RR (T79)
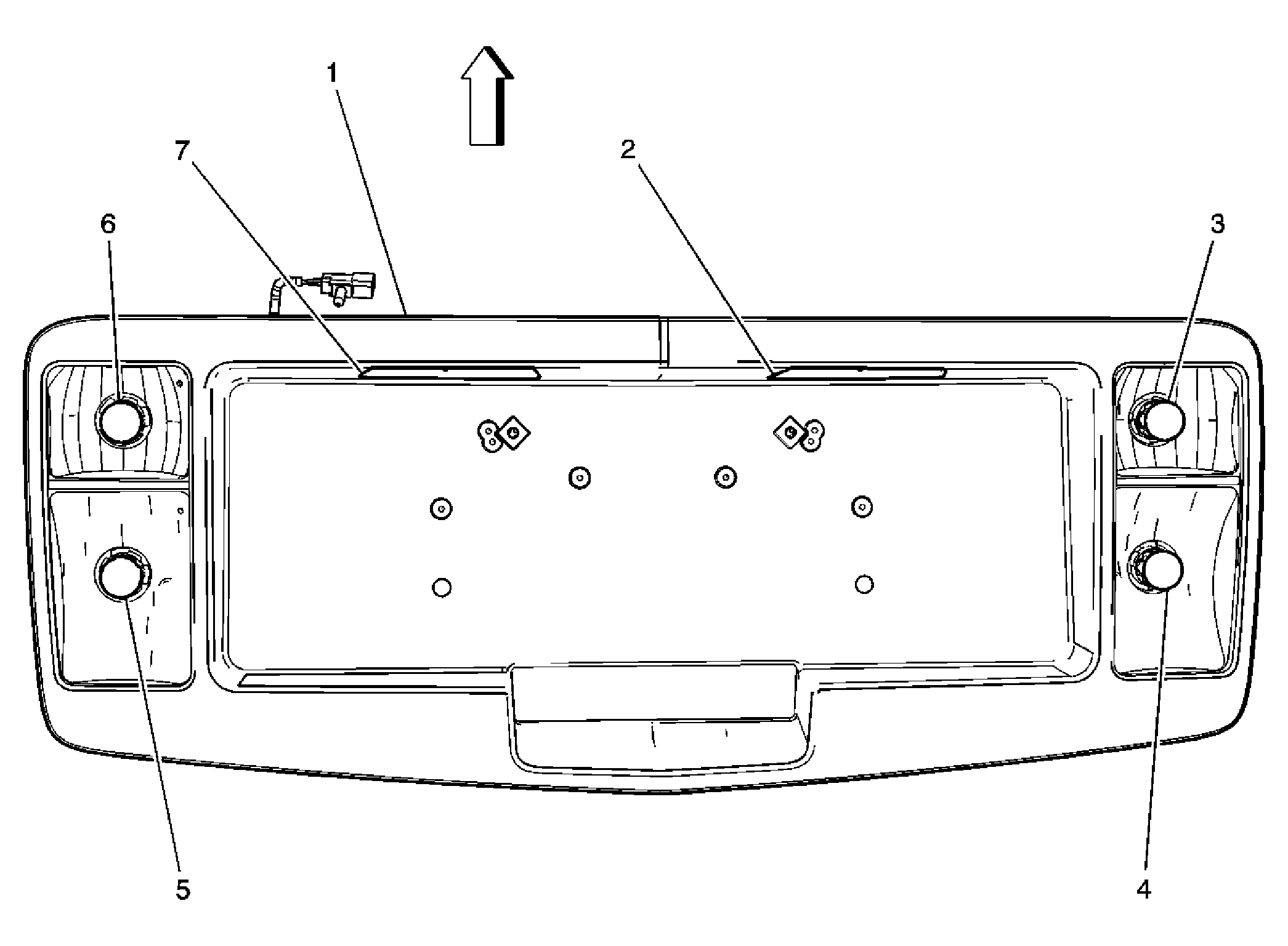
Fig 8: Identifying Tailgate Exterior Lights
GM1377404Courtesy of GENERAL MOTORS CORP.
Callouts For Fig 8

Callout Component Name
1 License Lamp Assembly
2 License Lamp - Right
3 Backup Lamp - Right
4 Fog Lamp - RR (T79)
5 Fog Lamp - LR (T79)
6 Backup Lamp - Left
7 License Lamp - Left
Fig 9: Identifying Driver Door Components
GM1855227Courtesy of GENERAL MOTORS CORP.
Callouts For Fig 9

Callout Component Name
1 Outside Rearview Mirror
2 Courtesy Lamp
3 Driver Door Module (DDM)
4 Door Lock Switch
5 Window Lockout Switch
6 Window Switches
7 Speaker - RF Door
8 Outside Rearview Mirror Switch
9 Memory Seat Switch
10 Heated Seat Switches
Fig 10: Identifying Passenger Door Components
GM1855195Courtesy of GENERAL MOTORS CORP.
Callouts For Fig 10

Callout Component Name
1 Outside Rearview Mirror
2 Heated Seat Switches
3 Window Switch
4 Speaker - LF Door
5 Door Lock Switch
6 Courtesy Lamp - LF Door
Fig 11: Identifying Headliner & Overhead Console Components
GM1272685Courtesy of GENERAL MOTORS CORP.
Callouts For Fig 11

Callout Component Name
1 Inside Rearview Mirror (ISRVM) Connector
2 Courtesy/Reading Lamp - Front Left
3 Courtesy/Reading Lamp Switch - Front Left
4 Sunshade - Left
5 Garage Door Opener (UG1)
6 Vanity Mirror Lamp Switch - Left
7 Vanity Mirror Lamp Connector - Left
8 Vanity Mirror Lamps - Left
9 Rear Wiper/Washer Switch
10 Blower Motor Switch - Auxiliary (C57)
11 Noise Compensation Microphone (UQS)
12 Vanity Mirror Lamps - Right
13 Sunshade Connector - Right
14 Sunshade - Right
15 Vanity Mirror Lamp Switch - Right
16 Courtesy/Reading Lamp Switch - Front Right
17 Courtesy/Reading Lamp - Front Right
18 Overhead Console Assembly - Center
19 Blower Motor Switch - Rear Auxiliary (C57)
20 Courtesy Lamp - Left Center
21 Courtesy Lamp Switch - Left Center
22 Blower Motor Switch Connector - Rear Auxiliary (C57)
23 Courtesy Lamps Connector
24 Courtesy Lamp Switch - Right Center
25 Courtesy Lamp - Right Center
26 Repeater Lamp - Left, Right Similar (T90)
Fig 12: Identifying Door & Footwell Courtesy Lamps
GM1273075Courtesy of GENERAL MOTORS CORP.
Callouts For Fig 12

Callout Component Name
1 Door - Driver
2 Courtesy Lamp - LF Door, RF Similar
3 Hush Panel
4 Courtesy Lamp - Left Footwell, Right Similar
Fig 13: Identifying Headliner Overhead Lamps
GM1374461Courtesy of GENERAL MOTORS CORP.
Callouts For Fig 13

Callout Component Name
1 Blower Motor Switch - Front Auxiliary (C57)
2 Blower Motor Switch - Rear Auxiliary (C57)
3 Courtesy/Reading Lamp - Rear
4 Rear Parking Assist (RPA) Display
5 Courtesy/Reading Lamp - Center
6 Courtesy/Reading Lamp - Front
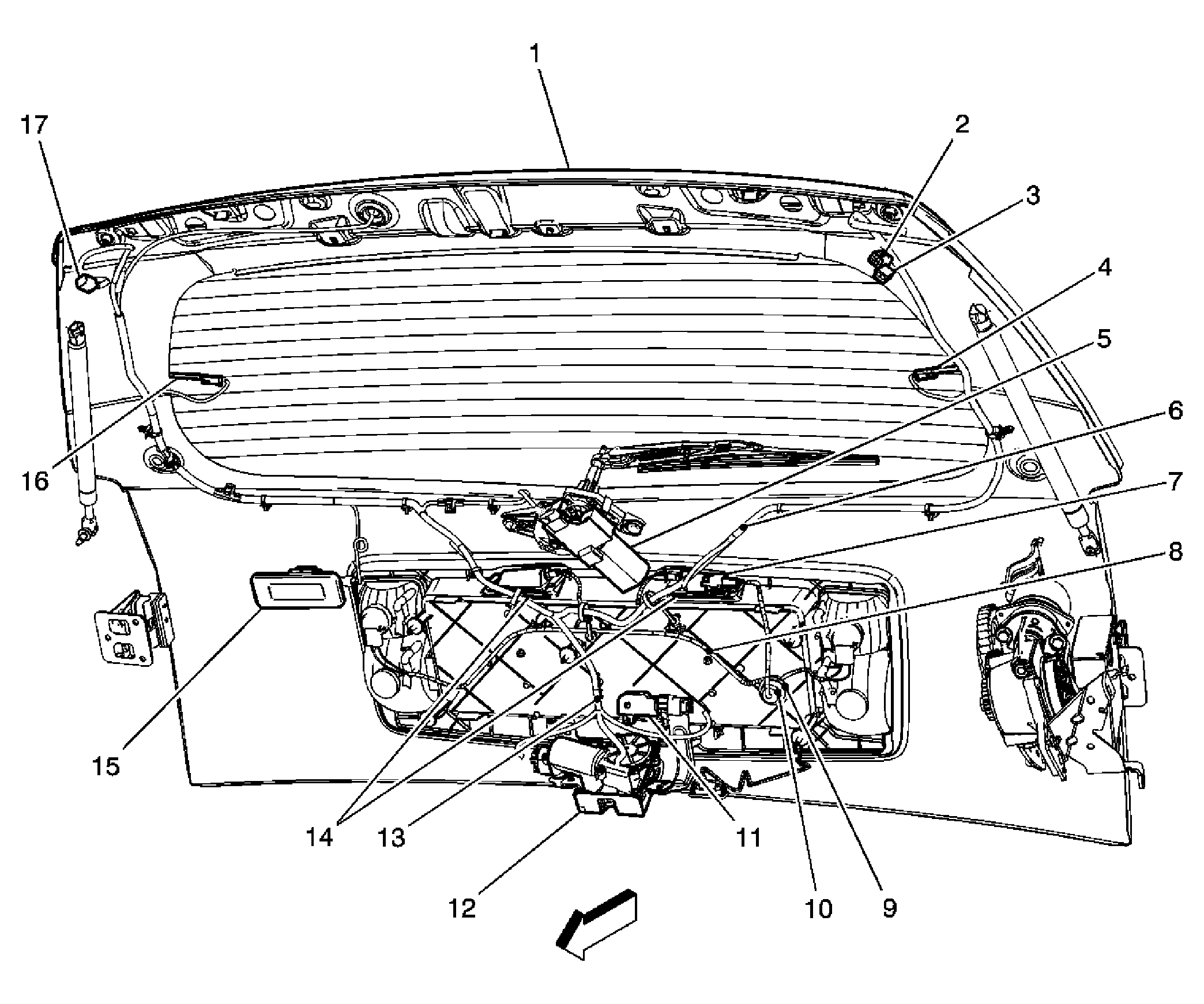
Fig 14: Identifying Liftgate Components
GM1828275Courtesy of GENERAL MOTORS CORP.
Callouts For Fig 14

Callout Component Name
1 Center High Mounted Stop Lamp (CHMSL)
2 C404
3 C403
4 Rear Window Defogger Grid C2
5 Rear Window Wiper Motor
6 S902
7 License Lamp/Backup Lamp Harness
8 S904
9 S903
10 S909
11 Liftgate Handle Switch
12 Liftgate Latch
13 S901
14 License Lamps
15 Courtesy Lamp - Rear Liftgate
16 Rear Window Defogger Grid C2
17 C401